EasyManua.ls Logo

Hakko Electronics Monitouch V7 - Page 120

Hakko Electronics Monitouch V7
344 pages
Print Icon
To Next Page IconTo Next Page
To Next Page IconTo Next Page
To Previous Page IconTo Previous Page
To Previous Page IconTo Previous Page
Loading...
3
6. V-Link 3-23
Serial Communications
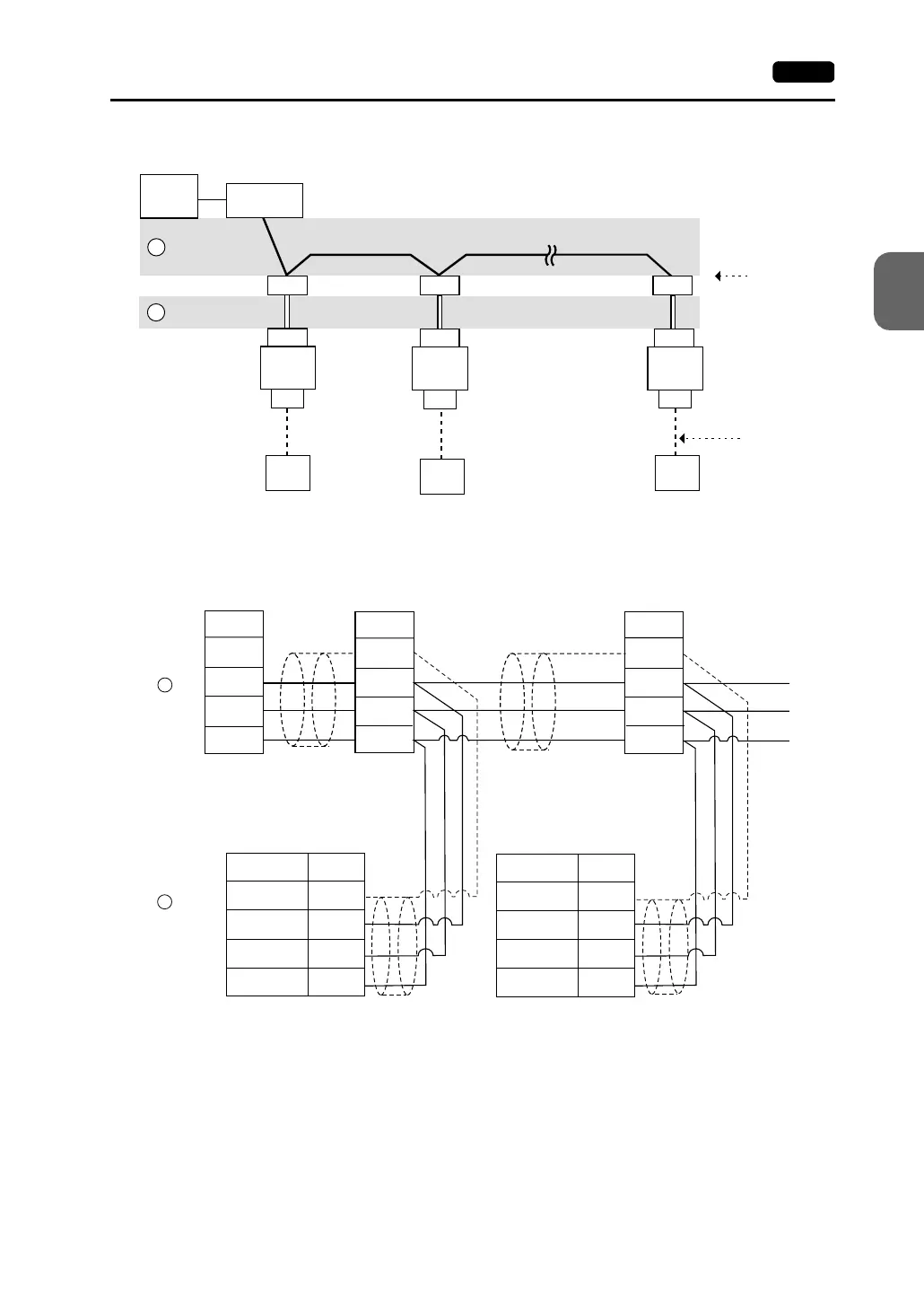
RS-485 (V7 series: maximum 31 sets)
Wiring example of above (a) and (b)
CN1
CN1
CN1
MJ2/1
MJ2/1 MJ2/1
a
b
V6-TMP
RS-232C
RS-422
RS-485
PLC
PLC
PLC
}
RS-485
}
*
}
*
}
*
Computer
V7
Local
Port 1
V7
Local
Port 2
V7
Local
Port 31
RS-232C
RS485
conversion
Terminal block Terminal block
Terminal block
* 0.5 m recommended (1.0 m maximum)
+
1
+
RS-485
2
+
1
2
+
+
a
b
SG
5
SG
5
SG
SG
SG
FG
FG
FG
FG FG
Signal Name
V7
Modular jack, 8-pin
Pin No.
(Black)
(Green)
V7
Modular jack, 8-pin
Signal
Name
(Black)
(Green)
Terminal Terminal
Signal Name Pin No.
Signal
Name
Signal
Name

Table of Contents

Related product manuals