EasyManua.ls Logo

Hakko Electronics Monitouch V7 - Wiring

Hakko Electronics Monitouch V7
344 pages
Print Icon
To Next Page IconTo Next Page
To Next Page IconTo Next Page
To Previous Page IconTo Previous Page
To Previous Page IconTo Previous Page
Loading...
5-106 18. KEYENCE PLC
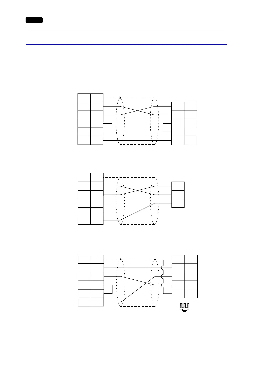
Wiring
Wiring diagrams with the PLC are shown below.
RS-232C
Wiring Diagram 1
Wiring Diagram 2
Wiring Diagram 3
V7 (CN1)
D-sub 25pin(Male: )
FG
SD
RD
RS
CS
SD
PLC
D-sub 25pin(Male: )
RD
2
3
SG
2
1
3
4
5
7
4RS
CS
SG
5
7
* Use shielded twist-pair cables.
D-sub 25-pin (male)
D-sub 25-pin (male)
V7 (CN1)
D-sub 25pin(Male: )
FG
SD
RD
SD
PLC
RD
2
1
3
RS
4
CS
5
SG
SG 7
* Use shielded twist-pair cables.
D-sub 25-pin (male)
V7 (CN1)
D-sub 25pin(Male: )
Modular Connector 6pin
FG
SD
RD
SD
CS
PLC
SG
2
1
3
RS
4
CS
5
RD
RS
3
1
4
5
6
SG 7
123456
* Use shielded twist-pair cables.
D-sub 25-pin (male)

Table of Contents

Related product manuals