EasyManua.ls Logo

Hakko Electronics Monitouch V7 - Page 261

Hakko Electronics Monitouch V7
344 pages
Print Icon
To Next Page IconTo Next Page
To Next Page IconTo Next Page
To Previous Page IconTo Previous Page
To Previous Page IconTo Previous Page
Loading...
5-54 7. YASKAWA PLC
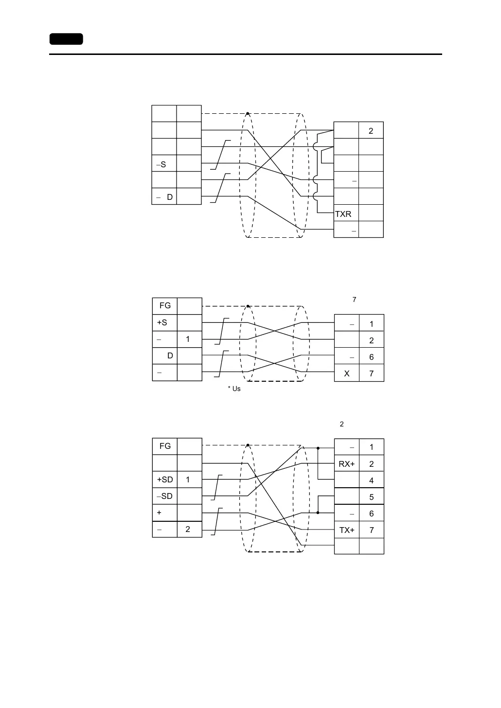
Wiring Diagram 6
Wiring Diagram 7
Wiring Diagram 8
V7 (CN1)
D-sub 25pin(Male: )
FG
+SD
-
SD
+RD
-
RD
1
12
13
24
25
TXD+
RXD+
SG 7
RXDRT
RXD
-
SG
2
3
4
6
7
PLC
D-sub 9pin(Male: )
TXRD
TXD
-
8
9
* Use shielded twist-pair cables.
D-sub 25-pin (male)
D-sub 9-pin (male)
V7 (CN1)
D-sub 25pin(Male: )
FG
+SD
-
SD
+RD
-
RD
1
12
13
24
25
RX
-
RX+
TX
-
TX+
CP217IF (CN3)
MR-8(Male: )
1
2
6
7
* Use shielded twist-pair cables.
D-sub 25-pin (male)
MR-8 (male)
V7 (CN1)
D-sub 25pin(Male: )
FG
+SD
-
SD
+RD
-
RD
1
12
13
24
25
RX
-
RXR+
TRX+
TX
-
217IF (CN3)
MR-8(Male: )
1
4
5
6
RX+ 2
TX+ 7
SG 8
SG 7
* Use shielded twist-pair cables.
D-sub 25-pin (male)
MR-8 (male)

Table of Contents

Related product manuals