EasyManua.ls Logo

Hakko Electronics Monitouch V7 - Page 319

Hakko Electronics Monitouch V7
344 pages
Print Icon
To Next Page IconTo Next Page
To Next Page IconTo Next Page
To Previous Page IconTo Previous Page
To Previous Page IconTo Previous Page
Loading...
5-112 19. LG PLC
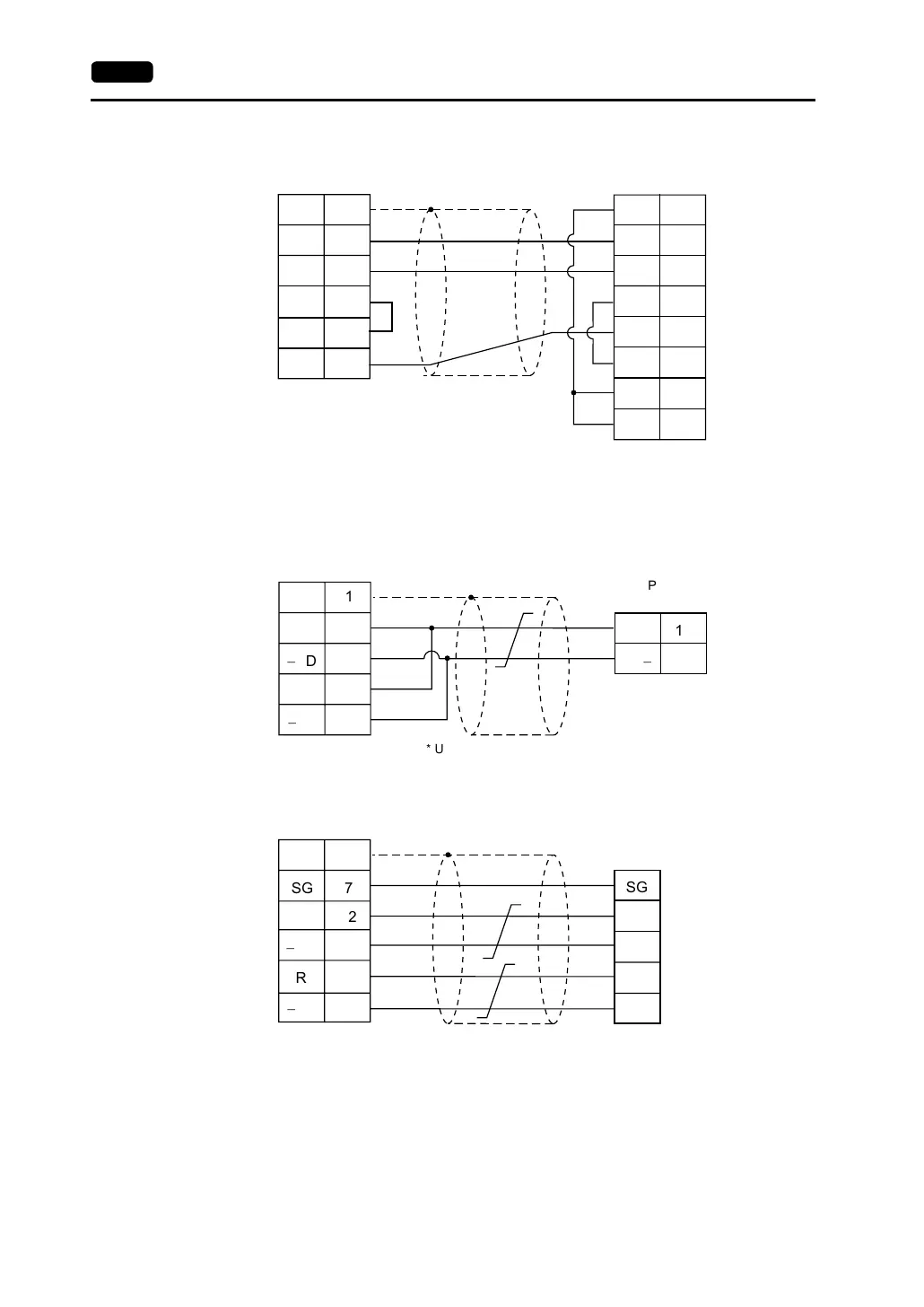
Wiring Diagram 4
RS-422
Wiring Diagram 5
Wiring Diagram 6
V7 (CN1)
D-sub 25pin(Male: )
FG
SD
RD
PLC
D-sub 25pin(Male: )
RXD
2
1
3
TXD
RS
4
GND
2
3
5
CS
5
SG 7
RTS
CTS
7
8
CD 1
DTR
4
DSR 6
* Use shielded twist-pair cables.
D-sub 25-pin (male)
D-sub 25-pin (male)
SD+
SD
-
PLC
D-sub 25pin(Male: )
10
11
FG
+SD
-
SD
+RD
-
RD
1
12
13
24
25
V7 (CN1)
D-sub 25pin(Male: )
* Use shielded twist-pair cables.
D-sub 25-pin (male)
D-sub 25-pin (male)
RDA
RDB
PLC
FG
+SD
-
SD
+RD
-
RD
1
12
13
24
25
V7 (CN1)
D-sub 25pin(Male: )
SG 7
SG
SDA
SDB
* Use shielded twist-pair cables.
D-sub 25-pin (male)

Table of Contents

Related product manuals