EasyManua.ls Logo

Hakko Electronics Monitouch V7 - Page 341

Hakko Electronics Monitouch V7
344 pages
Print Icon
To Next Page IconTo Next Page
To Next Page IconTo Next Page
To Previous Page IconTo Previous Page
To Previous Page IconTo Previous Page
Loading...
5-134 29. Automationdirect PLC
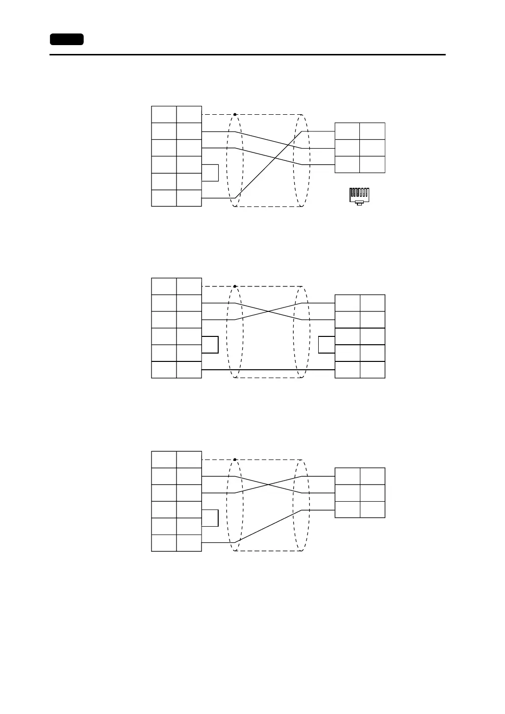
Wiring Diagram 2
Wiring Diagram 3
Wiring Diagram 4
V7 (CN1)
FG
SD
RD
SG
PLC
RxD
2
1
3
RS
4
CS
5
TxD
1
3
4
SG 7
654321
* Use shielded twist-pair cables.
D-sub 25-pin (male)
Modular connector 6-pin
V7 (CN1)
FG
SD
RD
RS
CS
1
2
3
4
5
TXD
RXD
PLC
RTS
CTS
0V
2
3
4
5
7
SG 7
* Use shielded twist-pair cables.
*1 High density D-sub 15-pin
D-sub 25-pin (male)
D-sub 15-pin (male)
*1
V7 (CN1)
FG
SD
RD
RS
CS
1
2
3
4
5
TXD
RXD
PLC
0V
2
3
13
SG 7
* Use shielded twist-pair cables.
D-sub 25-pin (male)
D-sub 15-pin (male)

Table of Contents

Related product manuals