EasyManua.ls Logo

Hioki 8807-01 - Setting the Logic Inputs

Hioki 8807-01
354 pages
Print Icon
To Next Page IconTo Next Page
To Next Page IconTo Next Page
To Previous Page IconTo Previous Page
To Previous Page IconTo Previous Page
Loading...
127
_____________________________________________________________________
7.3 Setting the Channel Screen
______________________________________________________________
Flashing cursor
Flashing cursor
NOTE
For the logic waveforms, the waveform colors have no effect on
printing density.
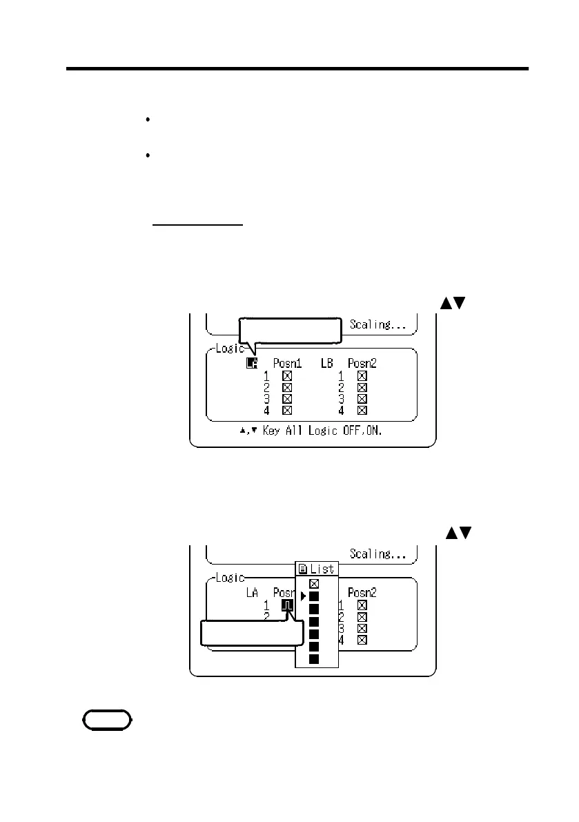
7.3.8 Setting the Logic Inputs
Select the display color of logic waveform for each
channels.
Select the display position for each probe (4 channels) for
logic channels LA and LB.
Procedure
Channel Screen
(1) Set the logic waveform to ON or OFF.
1. Press the
SET
button to display the Channel Screen.
2. Move the flashing cursor to the position shown in the
figure below and set to ON or OFF using the
buttons.
(2) Set the display color.
1. Move the flashing cursor to the position shown in the
figure below.
2. Select the display color for channels using the
buttons.

Table of Contents

Related product manuals