EasyManua.ls Logo

Hioki 8807-01 - 2.2 Power Supply and Ground Connection

Hioki 8807-01
354 pages
To Next Page IconTo Next Page
To Next Page IconTo Next Page
To Previous Page IconTo Previous Page
To Previous Page IconTo Previous Page
Loading...
8
_____________________________________________________________________
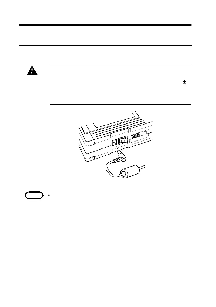
2.2 Power Supply and Ground Connection
______________________________________________________________
DANGE
R
Use only the specified/supplied Model 9418-15 AC
ADAPTER (SA145A-1240V-6, SINO AMERICAN). AC
adapter input voltage range is 100 to 240 V AC (with
10% stability) at 50/60 Hz. To avoid electrical hazards
and damage to the product, do not apply voltage
outside of this range.
NOTE
The AC adapter is prior to the battery when using together.
2.2 Power Supply and Ground Connection
2.2.1 Connecting the AC Adapter

Table of Contents

Related product manuals