EasyManua.ls Logo

Hisun HS200UTV - Page 261

Hisun HS200UTV
312 pages
Print Icon
To Next Page IconTo Next Page
To Next Page IconTo Next Page
To Previous Page IconTo Previous Page
To Previous Page IconTo Previous Page
Loading...
-246-
ELECTRICAL COMPONENTS
- 246 -
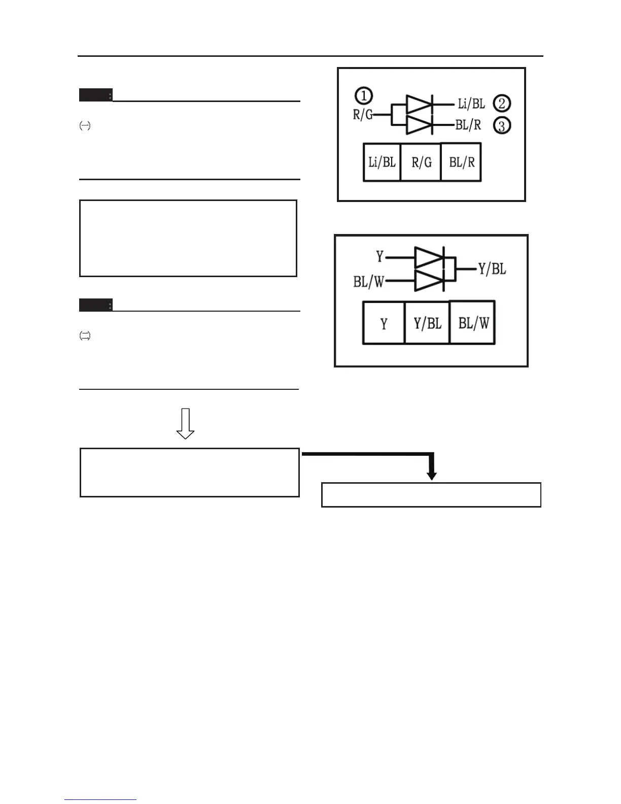
NOTE:
When you switch the tester’s positive
and negative probes, the readings in
the left chart will be reversed.
Connect multimeter positive to Red/Bule
white terminal (1)
Connect multimeter negative to Yellow/Bule
terminal (2)
NOTE:
When you switch the tester’s positive
and negative probes, the readings in
the left chart will be reversed.
CORRECT
8. Wiring connection
Check the connections of the entire starting
system. Refer to “CIRCUIT DIAGRAM”.
POOR CONNECTION
Properly connect the starting system.
ELECTRICAL COMPONENTS
- 247 -
STARTER MOTOR
No. Part Name Qty Remarks
1
2
Removing the starter motor
Flange bolt
Starter motor assy.
1
1 / 1
Remove the parts in the order listed
CHARGING SYSTEM
CIRCUIT DIAGRAM
See 293 page

Table of Contents

Related product manuals