EasyManua.ls Logo

Hitachi PB - Ink Heating Fault

Hitachi PB
153 pages
Print Icon
To Next Page IconTo Next Page
To Next Page IconTo Next Page
To Previous Page IconTo Previous Page
To Previous Page IconTo Previous Page
Loading...
6-17
6.2.15 Ink Heating Fault

On detecting this fault, the IJ printer automatically sets the “Ink temperature
correction” to (disabled).
“System environment setup Ink temperature correction (enabled) (disabled)
After getting rid of the fault, reset the Ink temperature correction to (enabled).
“System environment setup Ink temperature correction (disabled) (enabled)
In the condition of the “Ink temperature correction (disabled),” the “Ink temperature
correction confirmation” message appears each time the power is turned on.
(See “1.2.7 Heating of Ink” in the Instruction manual.)
Caution
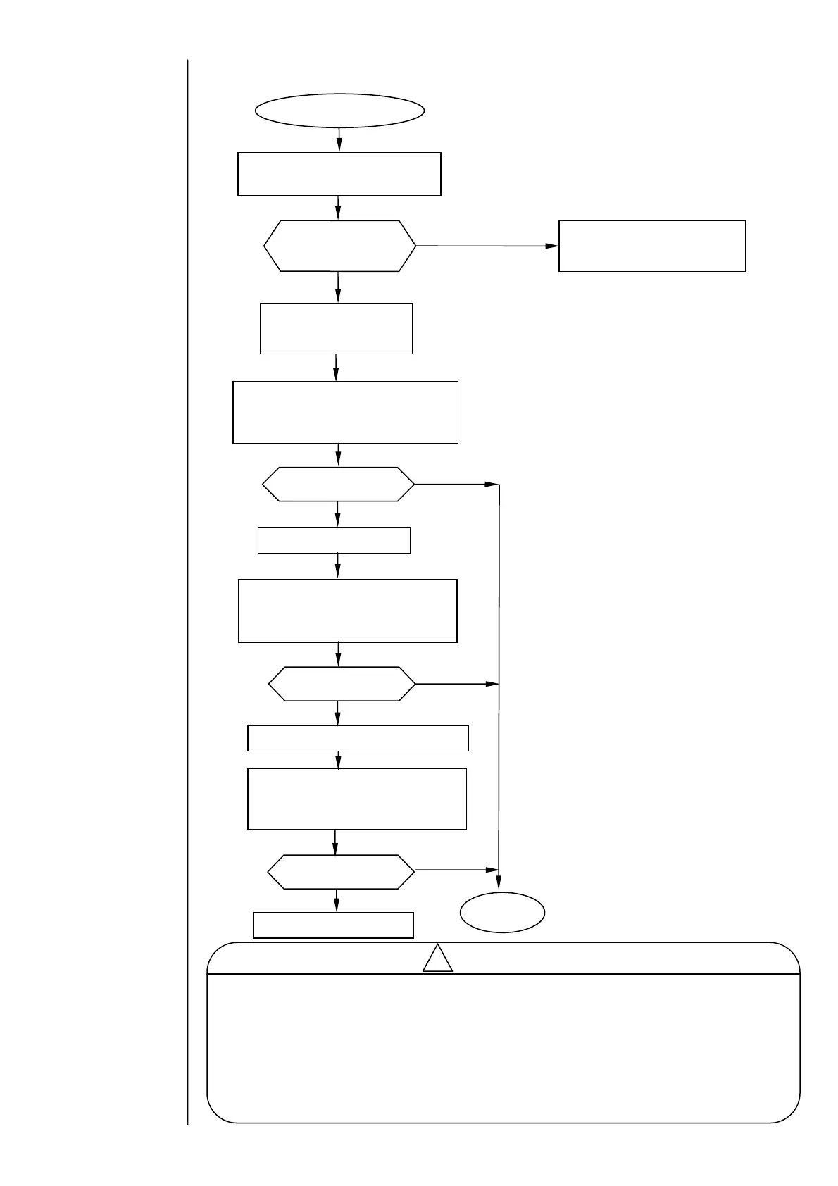
Ink Heating Fault
Clear the fault.
Restart the IJ printer.
See Section “6.5.8, No ink ejection
from nozzle.”
Does the ink jet out?
Y
es
No
Replace the heating unit.
Does the fault recur?
Y
es
No
Resume the
operation.
Does the fault recur?
Y
es
No
Clear the fault.
From the maintenance screen, place
the heating unit in the operating mode.
Restart the IJ printer.
Clear the fault.
From the maintenance screen, place
the heating unit in the operating mode.
Restart the IJ printer.
Replace the EZJ93 board.
Does the fault recur?
Y
es
No
Clear the fault.
From the maintenance screen, place
the heating unit in the operating mode.
Restart the IJ printer.
Disconnect EZJ94 board
/ EZJ106 board CN7
connector and reconnect it.
Replace the EZJ94 board / EZJ106 board.

Table of Contents

Related product manuals