EasyManua.ls Logo

HP 8753E - Page 167

HP 8753E
699 pages
To Next Page IconTo Next Page
To Next Page IconTo Next Page
To Previous Page IconTo Previous Page
To Previous Page IconTo Previous Page
Loading...
550 MHz
LOW PASS
FILTER
10
d8
10
dB
REFERENCE
CALIBRATION
MIXER
MIXER
CONVERTER
h
EXTERNAL
LO SOURCE
pg633e
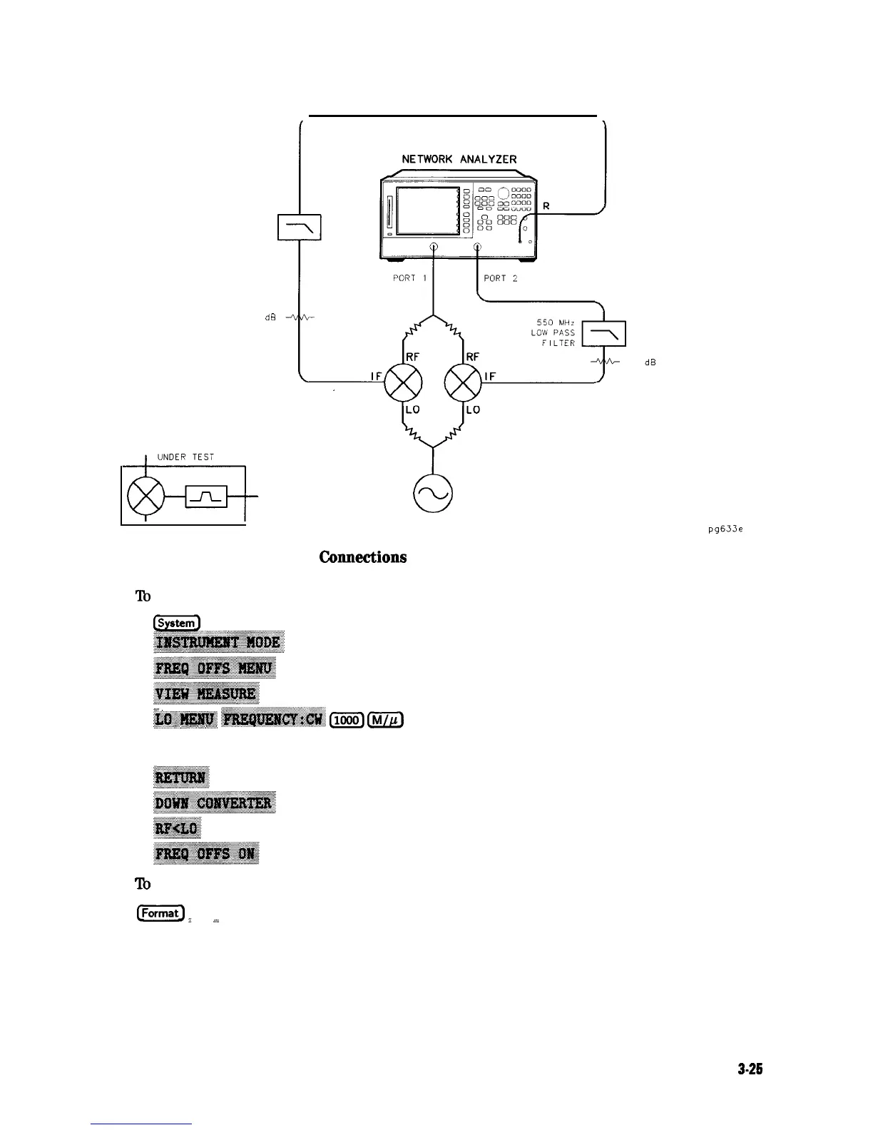
Figure 3-17. Counections for a Group Delay Measurement
5.
To
set the frequency offset mode LO frequency from the analyzer, press:
_.
_
. . . .
,. ,.,.,.,...,...,...,.,
i_..._
. .
_
. .
~~~~~
~~~~~~::~,
m
@JpJ
_
_
_
_
_
6. To select the converter type and a high-side LO measurement configuration, press:
7.
‘lb
select the format type, press:
,
..........
.
..............................
(jz;)
DELAY
:.
................ii..............
Making Mixer Measurements
3-26

Table of Contents

Other manuals for HP 8753E

Related product manuals