EasyManua.ls Logo

HP 8753E - Connections for an Amplitude and Phase Tracking Measurement between Two

HP 8753E
699 pages
To Next Page IconTo Next Page
To Next Page IconTo Next Page
To Previous Page IconTo Previous Page
To Previous Page IconTo Previous Page
Loading...
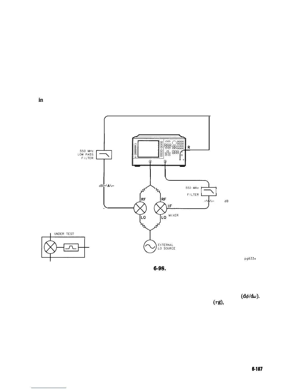
Amplitude and Phase Tracking
The match between mixers is defined as the absolute difference in amplitude and/or phase
response over a specified frequency range. The tracking between mixers is essentially how well
the devices are matched over a specified interval. This interval may be a frequency interval or
a temperature interval, or a combination of both.
You can make tracking measurements by ratioing the responses of two mixer conversion loss
measurements. Then any difference you view in response is due to the mixers and not the
measurement system.
Replace mixer A with the mixer that you want to compare it to. Mixer R should always remain
in
place
as
the
reference mixer.
f
NETWORK ANALYZER
PORT 1
1
1
PORT 2
10
dB
-4/v%-
LOW PASS
\
10 dB
\
IF
REFERENCE
CALIBRATION
MIXER
CONVERTER
pg633e
Figure
6-98.
Connections for an Amplitude and Phase Tracking Measurement Between Two Mixers
Phase Linearity and Group Delay
Group delay is the rate of change of phase through a device with respect to frequency
(d+/dw).
Traditionally, group delay has been used to describe the propagation delay
(Tg),
and deviation
from linear phase through a linear device. However, this parameter also contains valuable
information about transmission delay and distortion through a non-linear device such as a
mixer or frequency converter. For example, flat group delay corresponds to low modulation
distortion (that is, carrier and sidebands propagate at the same rate).
Phase linearity and
group
delay are both measurements of the
distortion
of a transmitted
signal. Roth measure the non-linearity of a device’s phase response with respect to frequency.
Application and Operation Concepts
6-167

Table of Contents

Other manuals for HP 8753E

Related product manuals