EasyManua.ls Logo

Maxsine EP3 E Series - 4.4 Torque Control Mode; 4.5 Gain Adjustment

Default Icon
162 pages
Print Icon
To Next Page IconTo Next Page
To Next Page IconTo Next Page
To Previous Page IconTo Previous Page
To Previous Page IconTo Previous Page
Loading...
Chapter 3 Front panel operation
42
3.5
Parameter management
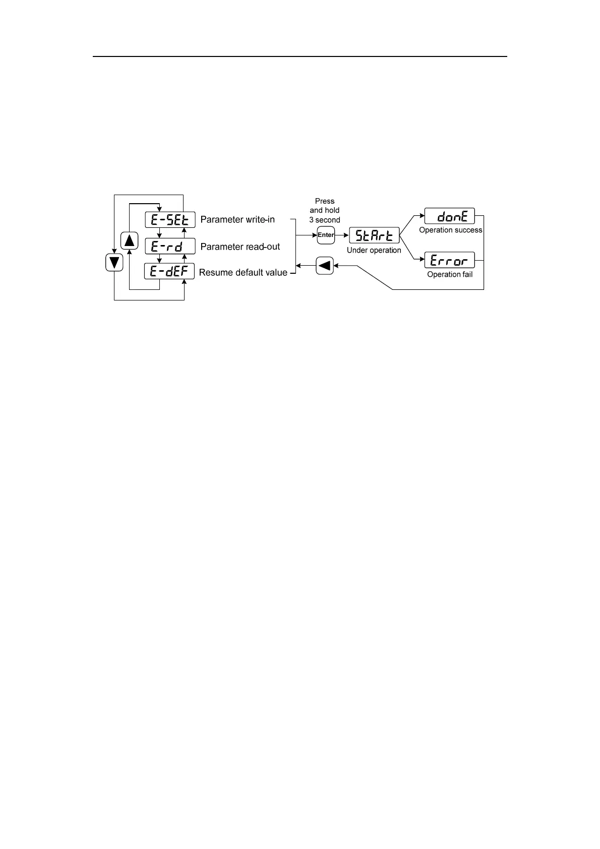
Choose the parameter management mode under the main menu "E- ". Pressing the 5
button enters the parameter management mode. The operation is performed between parameter
list and the EEPROM.
There are three operation modes. Use 82 button to select an operation mode and then
pressing down and hold the 5 button at least three seconds to active the operation mode. After
finished the operation and then pressing 4 button returns to the operation mode selection.
Parameter write-in
This operation indicates that the parameter in parameter list will write to the EEPROM.
When user has made change to a parameter, it only change the parameter value in parameter
list, but for the next time when the power supply is on the parameter value will restore its
original value. Making permanent change to a parameter value, it is the need to carry out the
parameter write operation and write the parameter value to the EEPROM. Hereafter, when
the power supply is on again will be able to use the new parameter value.
Parameter read-out
This operation indicates that all the parameters will be read from the EEPROM to the
parameter list. This process will carry out automatically one time when power supply is on.
At the beginning, the value of each parameter in the parameter list is the same as the
parameter in the EEPROM. After making change to a parameter value, the value in the
parameter list will also change. When the parameter value is not satisfied or comes to
confusion, carries out the parameter read operation to read back the original parameter value
from the EEPROM to the parameter list.
Resume default value
This operation indicates that each default value of all the parameters will read from
EEPROM and write to the parameter list and EEPROM. For the next time when power
supply is on the default parameters will be used by now. When many parameters become
confusion and cause abnormal operation, it is necessary to carry out this operation for
resuming the default parameters. There are different default parameters for different servo
driver model and the servomotor model. Therefore, before doing this operation the
servomotor code (Parameter P002) must be selected correctly.

Table of Contents