EasyManua.ls Logo

Minebea CSD-701B - 7−1−2. Contact output signal; 7−1−3. Equivalent circuit

Minebea CSD-701B
157 pages
Print Icon
To Next Page IconTo Next Page
To Next Page IconTo Next Page
To Previous Page IconTo Previous Page
To Previous Page IconTo Previous Page
Loading...
51
712. Contact output signal
Terminal
No.
Name Operation
14 S1 The contact output for comparator S1. 1a contact.
15 S2 The contact output for comparator S2. 1a contact.
13 COM.2 The common for the contact output(terminal No.14 to No.15).
COM.1 (terminal No. 8) and COM.2 (terminal No.13) are insulated.
The comparator of the instrument executes the comparison operation
synchronizing with the display.
The delay time starting from preparing the output conditions to the
contact output ON, will be 5 ms approximately.
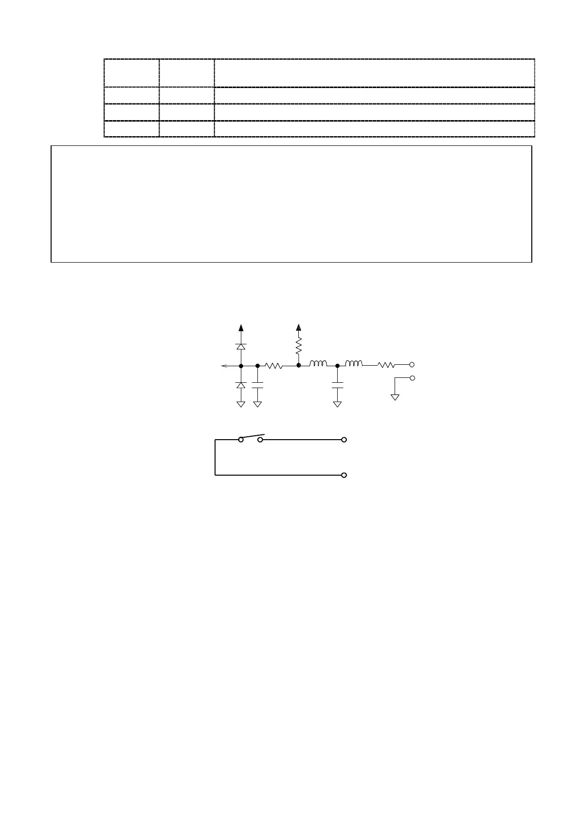
713. Equivalent circuit
(1) External control input section
5V
INPUT
COM.1
5V
2.2 kΩ
2.2 kΩ
to the inside
200 Ω
(2) Contact output section
OUTPUT
COM.2
AC125 V 0.1 A (Resistance load)
DC30 V 0.5 A (Resistance load)

Table of Contents

Related product manuals