EasyManua.ls Logo

Mitsubishi MELSEC-Q QD77MS - Page 156

Mitsubishi MELSEC-Q QD77MS
976 pages
To Next Page IconTo Next Page
To Next Page IconTo Next Page
To Previous Page IconTo Previous Page
To Previous Page IconTo Previous Page
Loading...
5 - 35
Chapter 5 Data Used for Positioning Control
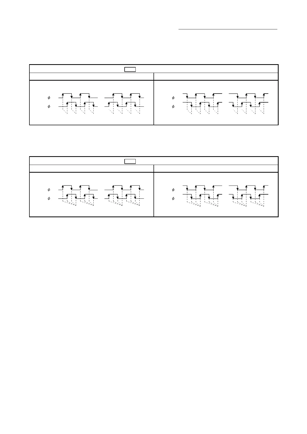
(b) A-phase/B-phase multiplied by 2
The positioning address increases or decreases at twice rising or twice
falling edges of A-phase/B-phase.
Pr.22 Input signal logic selection
Positive logic Negative logic
Reverse runForward run
A-phase
(A )
B-phase
(B )
+1 +1 +1 +1 -1 -1 -1 -1
Positioning
address
Reverse runForward run
A-phase
(A )
B-phase
(B )
+1 +1 +1 +1 -1 -1 -1 -1
Positioning
address
(c) A-phase/B-phase multiplied by 1
The positioning address increases or decreases at twice rising or twice
falling edges of A-phase/B-phase.
Pr.22 Input signal logic selection
Positive logic Negative logic
-1+1+1 -1
Reverse runForward run
A-phase
(A )
B-phase
(B )
Positioning
address
-1+1+1 -1
Reverse runForward run
A-phase
(A )
B-phase
(B )
Positioning
address

Table of Contents

Related product manuals