EasyManua.ls Logo

Mitsubishi MELSEC-Q QD77MS - Page 367

Mitsubishi MELSEC-Q QD77MS
976 pages
Print Icon
To Next Page IconTo Next Page
To Next Page IconTo Next Page
To Previous Page IconTo Previous Page
To Previous Page IconTo Previous Page
Loading...
6 - 52
Chapter 6 Sequence Program Used for Positioning Control
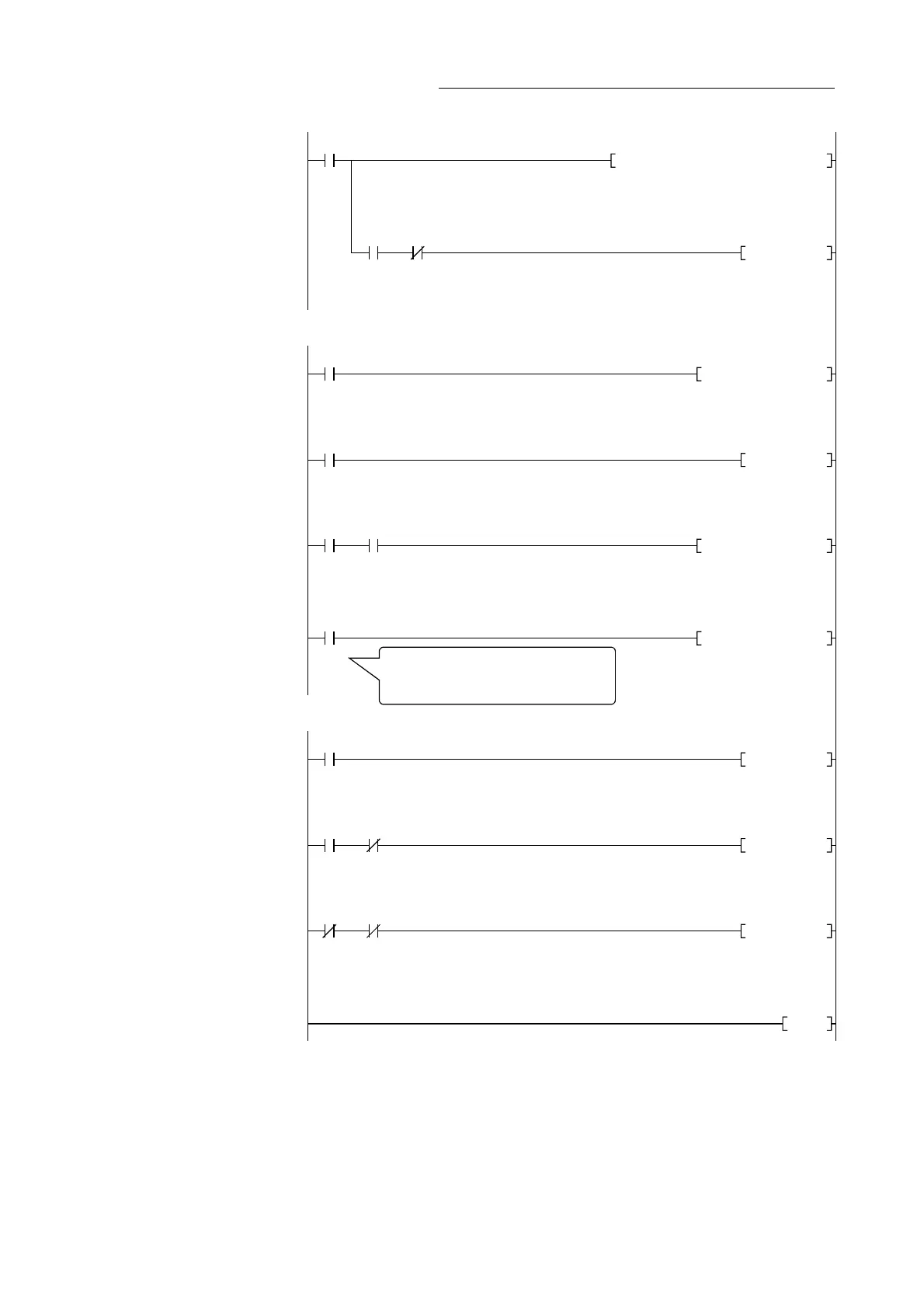
BUSY sig
nal (Axi
s 1)
X0C
PFWRT in
structio
n contro
l data
PFWRT in
structio
n comple
te devic
ZP.PFWRT M38"U0" D39
Error re
set
Error de
tection
signal
Error re
set comm
and
Error re
set
Error de
tection
signal
*<Error code read >
*<Error reset command pluse >
*<Error reset execution >
X3E
1458
X8
1449
M28
1462
X8
PLS M28
*
*No.28 Error reset program
*
Stop com
mand pul
se
Axis sto
p signal
Stop com[
mand
*<Stop command pulse >
Stop com
mand pul
se
*<Stop execution >
Stop com
mand
X3F
1475
PLS M29
M29
1482
SET Y4
X3F
1486
*
*No.29 Stop program
*
Flash RO
M write
command
storage
PFWRT in
structio
n comple
te devic
*<Flash ROM write command storage >
M38
RST M27
PLC READ
Y signal
OFF con
firmatio
*<Flash ROM write wxecution >
T1
1434
PFWRT in
structio
n error
cmplete
M39
Error re
set
*<Error reset clear execution >
MOVP K0
Error co
de
MOVP
D79
Error re
set
MOVP K1
Error co
de
U0\
G806
U0\
G1502
Error re
set clea
r comman
d
X4C
1469
U0\
G1502
1489
RST
END
Axis sto
p signal
Y4
BUSY sig
nal (Axi
s 1)
X0C
When servo amplifier errors cannot be reset even if
error reset is requested, "0" is not stored in axis error
reset by QD77MS. It remains "1". Set "0" in axis error
reset and then set "1" to execute the error reset again.

Table of Contents

Related product manuals