EasyManua.ls Logo

NMC-WOLLARD 100 - Page 626

NMC-WOLLARD 100
848 pages
Print Icon
To Next Page IconTo Next Page
To Next Page IconTo Next Page
To Previous Page IconTo Previous Page
To Previous Page IconTo Previous Page
Loading...
NMC-WOLLARD 2021Truax Blvd., Eau Claire, WI 54703, Phone (715) 835-3151, Fax (715) 835-6625
M100 Tow Tractor Manual No. 46052
PAGE 388
CHAPTER 4 REPAIR PARTS
MAY 15, 2016
4 ILLUSTRATED PARTS LIST
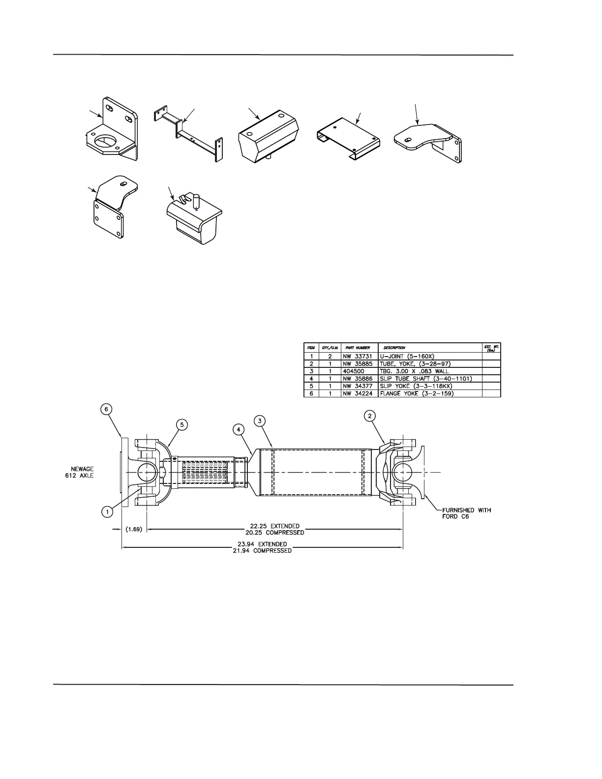
FIGURE 164.
DRIVESHAFT, ENG,TRANS MNTG, WG3800/GM
14
9
10
11
13
16
17

Table of Contents

Related product manuals