EasyManua.ls Logo

Reely HT-6 - V-Tail Mixer V Tail“

Reely HT-6
72 pages
Print Icon
To Next Page IconTo Next Page
To Next Page IconTo Next Page
To Previous Page IconTo Previous Page
To Previous Page IconTo Previous Page
Loading...
58
l) V-Tail Mixer „V Tail“
Thismenuisonlyavailableifaightmodelwasselectedinthesystemsettingsmenu!
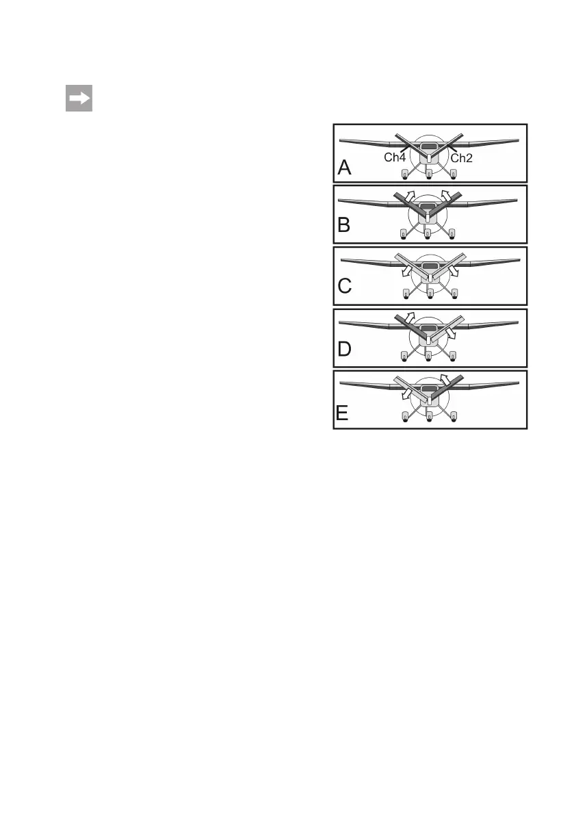
Flight models with a V-tail require every rudder blade to be con-
trolled by an individual servo. In that case, both servos carry out
the elevator and rudder control together.
The servo for the right rudder blade is connected to channel 2
(CH2) and the servo for the left rudder blade to channel 4 (CH4)
of the receiver.
As in the case with a cross tail or a T-tail, the rudder blades
must be in a line with the dampening areas and must not point
upwards or downwards when the control sticks at the transmitter
arenotdeected(SketchA).
If the elevator control stick is pulled towards the pilot, both rud-
dersmustdeectupwards(SketchB)whenlookingatthemodel
from behind.
If the elevator control stick is pushed all the way to the front, both
ruddersmustdeectdownwards(SketchC)whenlookingatthe
model from behind.
If the rudder control stick is moved all the way to the left, the left
ruddermustdeectupwardsandtherightruddermustdeect
downwards (Sketch D) when looking at the model from behind.
If the rudder control stick is moved all the way to the right, the left
ruddermustdeectdownwardsandtherightruddermustdeect
upwards (Sketch E) when looking at the model from behind.
Figure 50

Table of Contents

Related product manuals