EasyManua.ls Logo

schmersal PSC1 - Connection Examples, Digital Sensors;Safety Switch

schmersal PSC1
201 pages
Print Icon
To Next Page IconTo Next Page
To Next Page IconTo Next Page
To Previous Page IconTo Previous Page
To Previous Page IconTo Previous Page
Loading...
Installation manual
HB-37420-810-01-25F-EN PSC1-C-100 Installation manual - V2.2.docx Page 51 of 201
Version: 25F
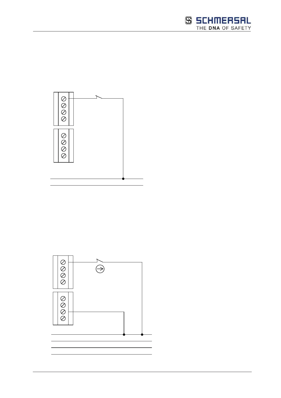
4.2.1.4 Connection examples, digital sensors/safety switch
Attention! Identifiers for "Xxy" terminal blocks, e.g. X14, are not printed on the terminal blocks.
They are used in Section Fehler! Verweisquelle konnte nicht gefunden werden. Fehler!
Verweisquelle konnte nicht gefunden werden. to find the individual terminals more quickly,
e.g. "I00".
4.2.1.4.1 Single-channel sensor, without cross-circuit testing
I00
I01
I02
I03
T0
T1
L+
L-
X14
X12
.
.
.
Single-channel sensor, without cross-circuit testing
The single-channel sensor is connected to the PSC1 without test pulses, and without cross-
circuit testing. This design is not recommended for safety applications. Max. PL b according to
EN ISO 13849-1 can be achieved.
4.2.1.4.2 Single-channel sensor with cross-circuit testing
L+
L-
T1
T0
I00
I01
I02
I03
T0
T1
X14
X12
.
.
.
Single-channel sensor with test pulses

Table of Contents

Related product manuals