EasyManua.ls Logo

SciCan Bravo - Page 47

SciCan Bravo
96 pages
Print Icon
To Next Page IconTo Next Page
To Next Page IconTo Next Page
To Previous Page IconTo Previous Page
To Previous Page IconTo Previous Page
Loading...
9. RUNNING THE CYCLE
41.
Third rise in
pressure
Thermodynamic
equilibrium
Sterilization
time
Steam discharge
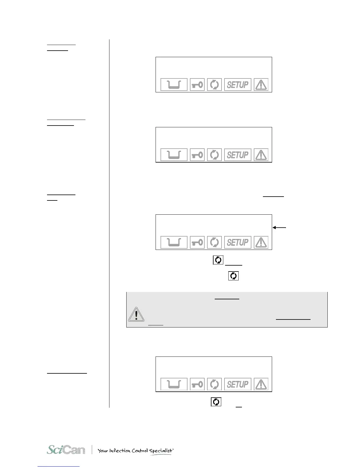
After the last vacuum phase, the pressure in the sterilization chamber must rise to the value
set for the sterilization process (3rd PRESSURE PULSE), always through the injection of
steam.
1 134 POROUS/ WRAPPED
3. PRESSURE PULSE
128.6 °C
1.70 bar 12:33
When the pressure and temperature values for the selected program have been reached, the
unit pauses to allow the temperature in the chamber to stabilize (EQUILIBRATION). The liquid
crystal display shows:
1 134 POROUS/ WRAPPED
EQUILIBRATION
135.4 °C
2.15 bar 13:40
When the thermodynamic parameters are balanced, the actual sterilization phase of the
materials begins (HOLDING TIME).
With continuous monitoring of the thermodynamic parameters and ongoing management of
the plumbing circuit, the pressure and temperature are remain constant within the limits
required by the program. A sterilization time countdown begins, and the display shows the
following:
1 134 POROUS/ WRAPPED
HOLDING TIME
135.6 °C 04:00
2.16 bar 13:55
The icon for the sterilization process status flashes to indicate that the treatment of the
load is in progress.
At the end of the sterilization phase, the icon
stays on to indicate the complete
sterilization of the material in the sterilization chamber.
WARNING
IF THE STERILIZATION CYCLE IS INTERRUPTED BEFORE COMPLETION,
THE ICON WILL CONTINUE TO FLASH. WHEN THIS HAPPENS, THE
MATERIAL CANNOT BE CONSIDERED STERILE AND MUST NOT BE
USED.
At the end of the sterilization phase, the steam is released from the sterilization chamber
(STEAM DISCHARGE). The liquid crystal display shows:
1 134 POROUS/ WRAPPED
DEPRESSURIZATION
123.9 °C
1.24 bar 18:20
The icon for the sterilization process status stays on.
countdown

Table of Contents

Other manuals for SciCan Bravo

Related product manuals