EasyManua.ls Logo

Siecor 5000 Series - Page 52

Default Icon
140 pages
Print Icon
To Next Page IconTo Next Page
To Next Page IconTo Next Page
To Previous Page IconTo Previous Page
To Previous Page IconTo Previous Page
Loading...
Operating Instructions 4-5 M90 Fusion Splicer
Issue 02/97 Splicing
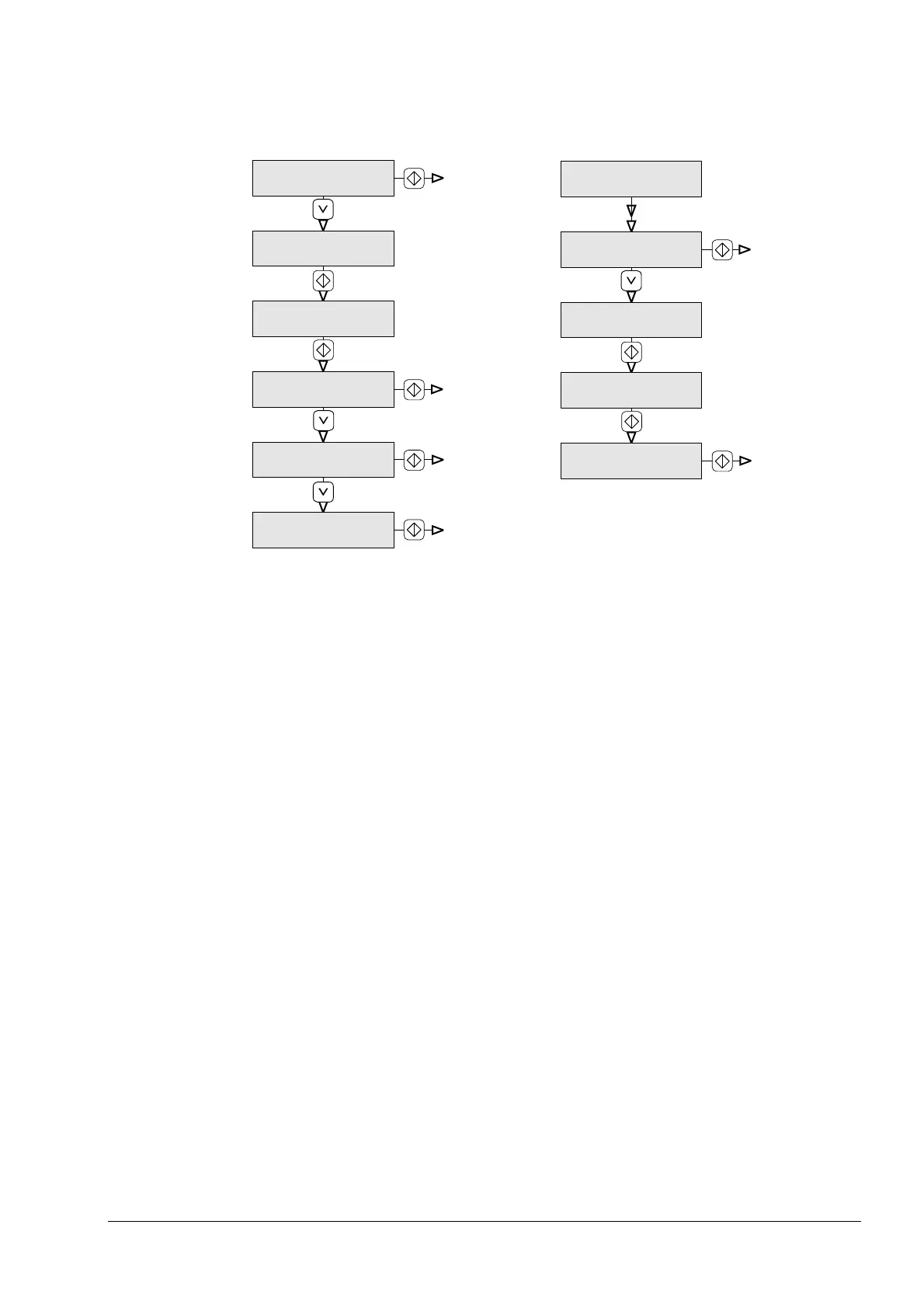
Selecting the
splicing se-
quence
All programs,
except attenuation splice
Fully automatic
Automatic
Semi-automatic
Manual
Search for fiber?
Auto-XY, clean
fuse?
Auto-XY?
Clean?
Manual fiber adjustment?
Auto-XYZ and
fuse?
Attenuation splice
Attenuation: ### dB
Auto-XYZ, clean,
fuse?
Fully automatic
Automatic
Search for fiber?
Clean?
Auto-XYZ and
fuse?
Artisan Technology Group - Quality Instrumentation ... Guaranteed | (888) 88-SOURCE | www.artisantg.com

Table of Contents