EasyManua.ls Logo

Siemens 6RA7086-6KS22

Siemens 6RA7086-6KS22
734 pages
To Next Page IconTo Next Page
To Next Page IconTo Next Page
To Previous Page IconTo Previous Page
To Previous Page IconTo Previous Page
Loading...
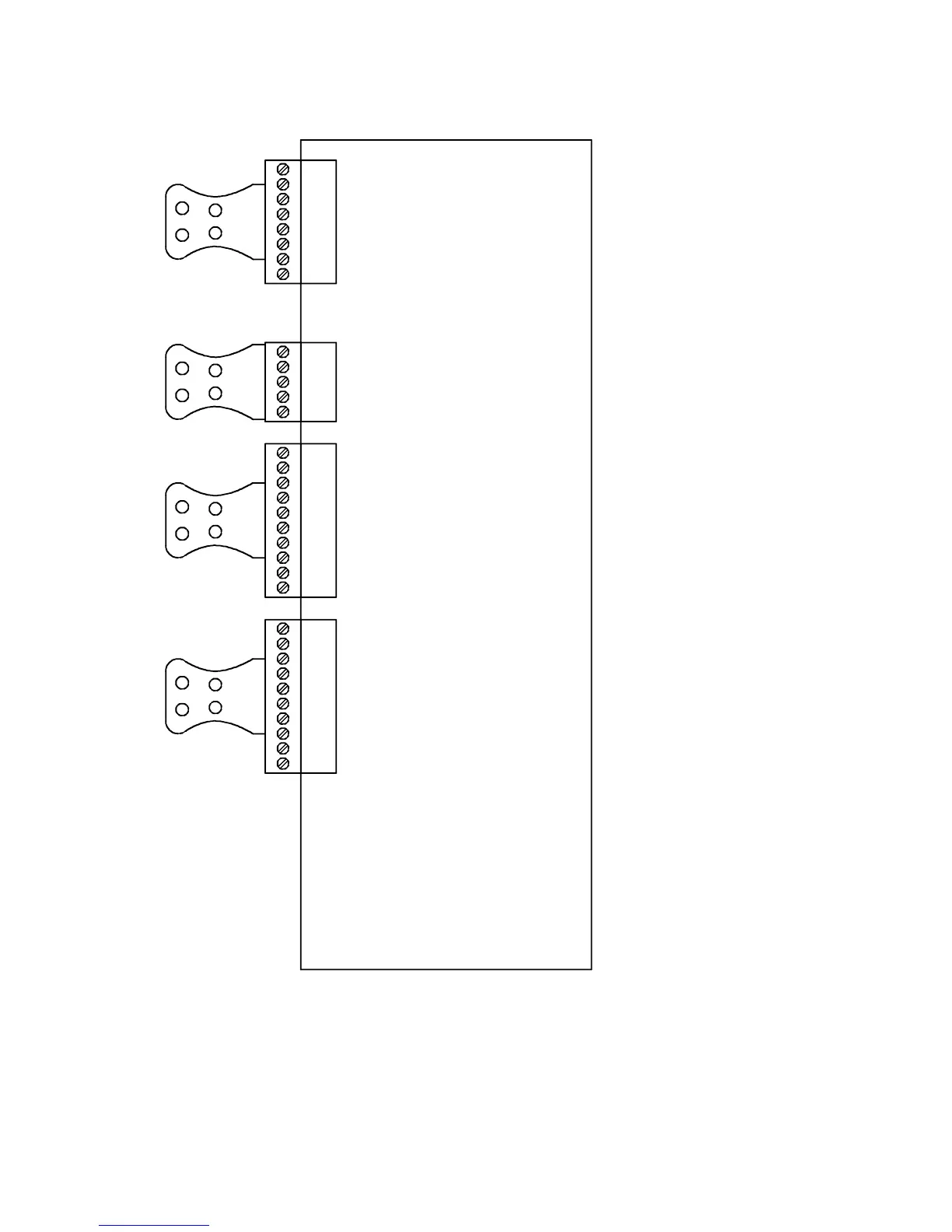
Connections 05.05
6-60 Siemens AG 6RX1700-0AD76
SIMOREG DC Master Operating Instructions
Module C98043-A7006 (CUD2)
210
211
212
213
214
215
216
217
X161
61
62
63
64
65
X162
44
45
40
41
42
43
50
51
52
53
X163
8
9
10
11
18
19
20
21
204
205
X164
C98043-A7006

Table of Contents

Related product manuals