EasyManua.ls Logo

Siemens 6RA7086-6KS22

Siemens 6RA7086-6KS22
734 pages
To Next Page IconTo Next Page
To Next Page IconTo Next Page
To Previous Page IconTo Previous Page
To Previous Page IconTo Previous Page
Loading...
05.05 Function diagrams
SIEMENS AG 6RX1700-0AD76 8-5
SIMOREG DC Master Operating Instructions
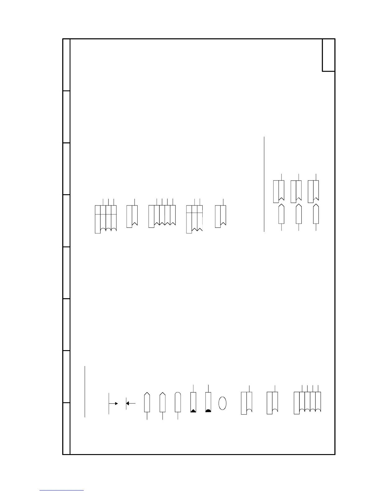
Key to symbols
87564321
- 000 -
6
.01
.02
.03
.04
.01
.02
.03
.01
.02
.03
.04
.01
.02
y
y
y
x
x
x
[G152.1]
K0401
B0161
K0040
P462.F(10,00s)
0,01...300,00s
r045.02
B0202
P818 (1)
B
P046 (0)
B
B
B
B
B
U320
B
B
500
510
1
P510 (2)
K
P606 (9)
K
K
K
K
0
141
P601
K
K
P697.B (1)
B
KK9498
P510 (0)
KK
U181 (0)
KK
KK9498
U181
KK
K0401
P044
K
KK9498
9498
401
9498
Key to symbols
Ramp-up time
Setting parameter
Factory setting in parentheses
".F"= parameter in a function parameter set
0.00...300.00s = setting range
Display parameter
Parameter number = r045
.02 = index 2 of parameter
Binector
(freely connectable binary signal)
Connector assigned to a fixed quantity
(i.e. not optional)
Binector assigned to a fixed quantity
(i.e. not optional)
Identifier for a freely assignable
function block
(Number of function block)
FS
FS
Selection of a binector
Factory setting in parentheses
Setting range = all binector numbers
Selected binector can be specified in symbol
Selection of binectors via "indexed" parameter
Factory setting in parentheses
Setting range = all binector numbers
Selected binectors for each index can be specified
Selection of binectors via "indexed" parameter
Factory settings differ for each index
Setting range = all binector numbers
Selected binectors for each index can be specified in symbol
Selection of a connector
Factory setting in parentheses
Setting range = all binector numbers
Selected connector can be specified in symbol
Selection of connectors via "indexed" parameter
Factory setting in parentheses
Setting range = all connector numbers
Selected connectors for each index
can be specified in symbol
Selection of connectors via "indexed" parameter
Factory settings differ for each index
Setting range = all connector numbers
Selected connectors for each index
can be specified in symbol
Selection of a binector
Factory setting in parentheses
".B" = Parameter in BICO data set
Setting range = all binary numbers
Selected binector can be specified in symbol
Connector
(freely connectable 16-bit value)
Double-word connector
(freely connectable 32-bit value)
(see also Section 9.1)
Selection of a double-word connector
Factory setting in parentheses
Setting range = all connector numbers
Selected connector can be specified in symbol
Selection of double-word connectors:
y - LOW word = LOW word of x (KK9498)
y - HIGH word = HIGH word of x (KK9498)
y - LOW word = 0
y - HIGH word = x (K0401)
y (Word) = HIGH word of x (KK9498)
Reference to another sheet in function diagrams, destination symbol
[Sheet.Column]

Table of Contents

Related product manuals