EasyManua.ls Logo

Siemens 7UT51

Siemens 7UT51
232 pages
To Next Page IconTo Next Page
To Next Page IconTo Next Page
To Previous Page IconTo Previous Page
To Previous Page IconTo Previous Page
Loading...
7UT51 v3
Application Examples
3
PRIM-2330C 31
3 Application Examples
The Siemens 7UT51 multifunction protective relay
provides secure, high speed protection for phase and/
or ground-faults (depending upon system grounding)
in a wide variety of power system equipment. The
primary protection is based upon the current
differential operating principle. The relay also provides
several ancillary protection functions that make it a
valuable part of any robust protection scheme. These
include thermal overload protection — highly valuable
for transformers, motors, and industrial generators —
and backup time and instantaneous overcurrent
protection. In addition, the 7UT513 mode can provide
a choice of overcurrent backup, ground differential, or
tank leakage current protection.
Typical 7UT51 applications are illustrated in the
figures and descriptions which follow. These by no
means exhaust the range of possible applications, but
do demonstrate the relay's flexibility and some
common ways of applying it. Note that the relay can
accommodate wye-configured current transformers
(CTs) regardless of the transformer winding
configurations. No auxiliary CTs are necessary to
match phase angles, which avoids the possibility of
errors when designing or connecting the CT scheme.
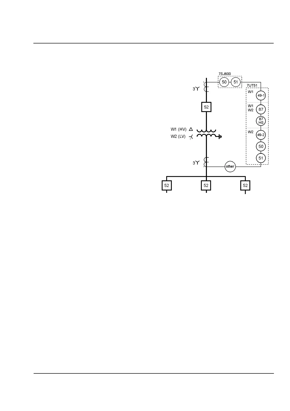
3.1 Transformer Protection
Typical two- and three-winding transformer protection
schemes are shown in Figure 3.1 and Figure 3.2 on
page 32 below. In Figure 3.1, the relay is either the
7UT512 or 7UT513 model and is wired and configured
to provide sensitive differential (primary) protection for
any phase fault in its zone of protection. Depending
upon relay settings, fault location and magnitude, and
system grounding, the 7UT512/513 may provide
primary protection for ground-faults as well.
This application also provides high-set differential or
through-fault protection (87HS), thermal overload
protection for both transformer windings (49-1 for the
delta winding, 49-2 for the wye winding), and backup
overcurrent protection (50, 51) for the wye winding
and connected system downstream of the transformer.
Figure 3.1
Two
-
Winding Transformer Protection with
Overcurrent Backup for the Bus
For three-winding transformer protection, the 7UT513
model is required, as shown in Figure 3.2. The
protection provided for in this scheme is similar to that
of Figure 3.1 but with a few important differences.
Primary differential protection is provided for all three
transformer windings (87, 87HS) and thermal overload
protection is provided for the high voltage wye winding
(49-1). However, the second thermal overload element
(49-2) and the backup overcurrent elements (50,51)
are wired to protect the delta tertiary winding, W3, and
connected load through the load breaker.
The relay has independently configurable trip contacts
(the 7UT513 model has five) that allow for the design
of flexible tripping schemes depending upon load
criticality. For example, the thermal overload and
backup overcurrent elements associated with the delta
tertiary winding, W3, can be configured to trip only the
load breaker, leaving the rest of the system intact,
while the differential elements can be configured to trip
all transformer breakers to clear a fault.

Table of Contents

Related product manuals