EasyManua.ls Logo

Sun Microsystems Sun Fire X4150 - Removing the Front Control Panel Light Pipe Assembly

Sun Microsystems Sun Fire X4150
186 pages
Print Icon
To Next Page IconTo Next Page
To Next Page IconTo Next Page
To Previous Page IconTo Previous Page
To Previous Page IconTo Previous Page
Loading...
5-12 Sun Fire X4150 Server Service Manual November 2009
5.4.1 Removing the Front Control Panel Light Pipe
Assembly
1. Remove the drives cage.
See Section 5.2.1, “Removing the Drives Cage” on page 5-5.
2. Remove the drives backplane.
See Section 5.3.1, “Removing the Drives Backplane” on page 5-9.
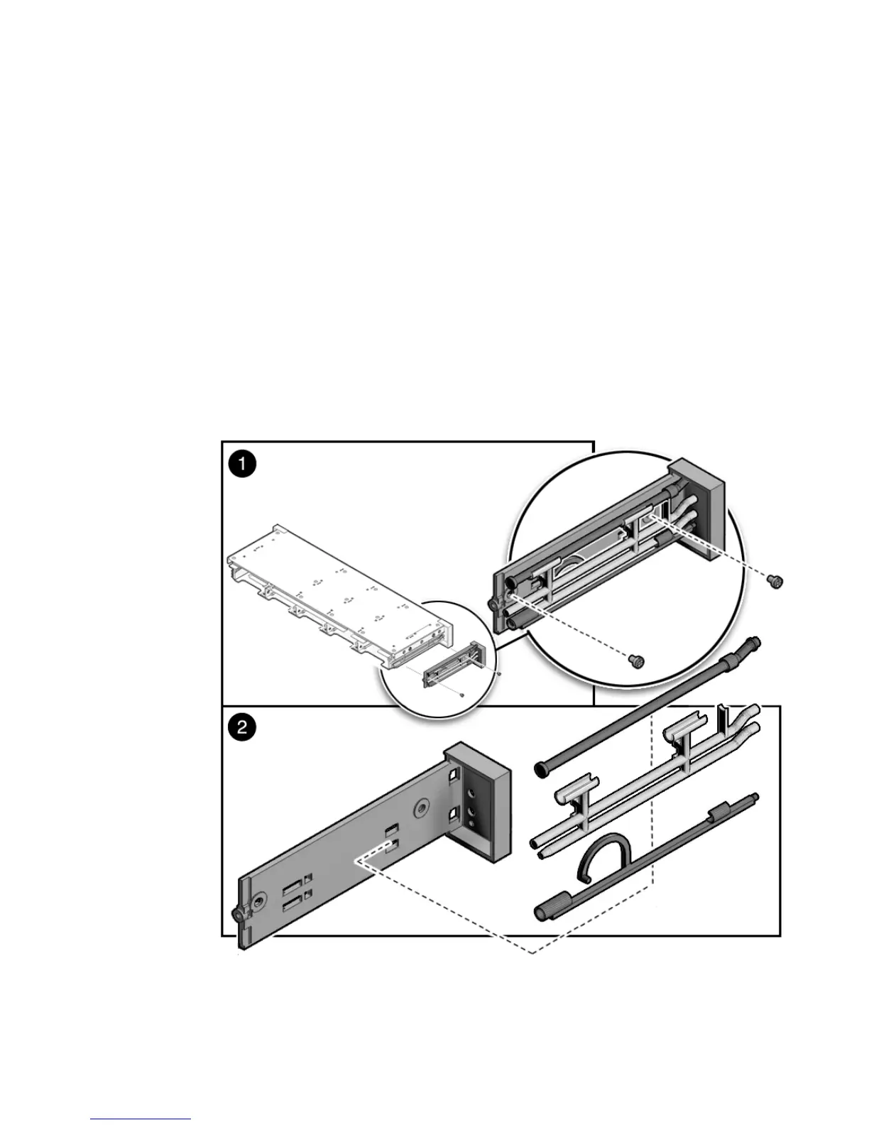
3. Remove the two No. 2 Phillips screws securing the front control panel light pipe
assembly to the drives cage (
FIGURE 5-7).
4. Slide the light pipe assembly out of the drives cage.
FIGURE 5-7 Removing the Light Pipe Assembly

Table of Contents

Other manuals for Sun Microsystems Sun Fire X4150

Related product manuals