EasyManua.ls Logo

Sun Microsystems Sun Fire X4150 - Returning the Server to the Normal Rack Position

Sun Microsystems Sun Fire X4150
186 pages
Print Icon
To Next Page IconTo Next Page
To Next Page IconTo Next Page
To Previous Page IconTo Previous Page
To Previous Page IconTo Previous Page
Loading...
Chapter 6 Returning the Server to Operation 6-5
6.3 Returning the Server to the Normal Rack
Position
If you extended the server to the maintenance position, use this procedure to return
the server to the normal rack position.
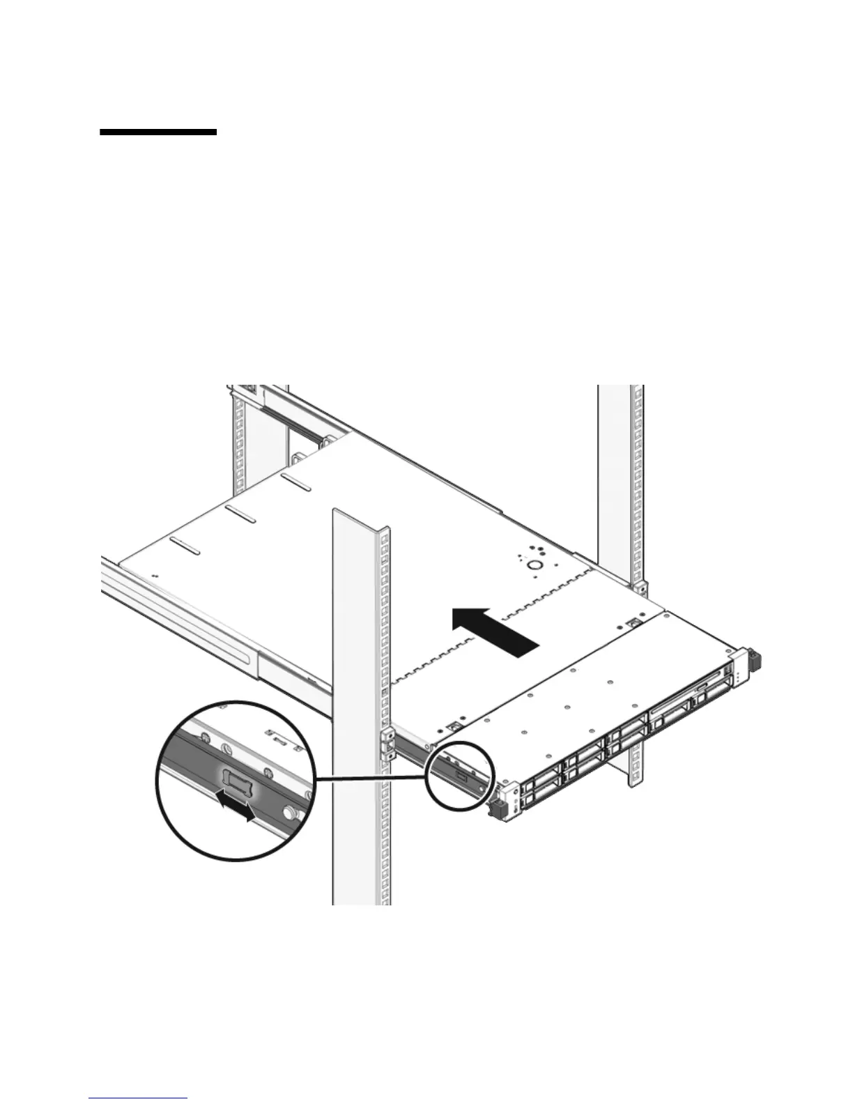
1. Release the slide rails from the fully extended position by pushing the release
tabs on the side of each rail (
FIGURE 6-3).
FIGURE 6-3 Release Tabs on Rails
2. While pushing on the release tabs, slowly push the server into the rack.
Ensure that the cables do not get in the way.

Table of Contents

Other manuals for Sun Microsystems Sun Fire X4150

Related product manuals