EasyManua.ls Logo

WEG SSW-06 - Page 156

WEG SSW-06
195 pages
Print Icon
To Next Page IconTo Next Page
To Next Page IconTo Next Page
To Previous Page IconTo Previous Page
To Previous Page IconTo Previous Page
Loading...
CHAPTER 7 - PROGRAMMING INFORMATION AND SUGGESTIONS
156
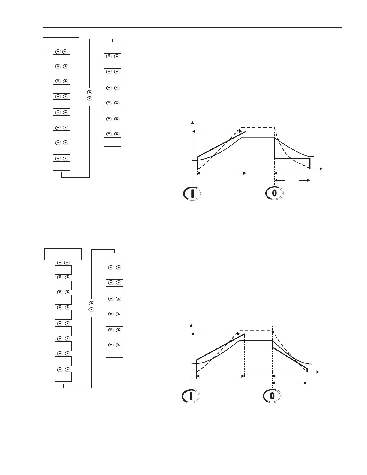
Stopping (P1040 and P125=1):
1) In most applications only the constant torque control can be used for
pump stopping, 1 point=constant;
2) This method is used for water columns that are not very high;
3) Set P126 initially to the same value of P121, provided it is correct;
4) Set P126 in such a way that at the end of the pump stopping process
the motor is not still enabled for a long time;
5) As soon as the pump is disabled, a gradual pressure drop should be
notedwithoutsignicantpressureoscillation,mainlyattheendofthe
stop, when the retaining valve is closed.
Figure 7.19 - Hydraulic pump stopping with constant torque, 1 point
Stopping (P1040 and P125=2):
1) Lineardecelerationtorque,2points=linear;
2) Applied to high water columns;
3) AtrstyoucansetP126for10%to15%lowerthanthevalueofP121,
provided this value is correct;
4) Set P127 so that at the beginning of the pump stopping, the pressure
decreases gradually and no sudden oscillation occurs;
5) Set P126 so that at the end of the pump stopping process the motor
is not still enabled for a long time.
Figure 7.20 - Hydraulic pump stopping with linear torque, 2 points
Tn(%)
Start
Speed
0
Enable Disable
t(s)
Maximum Time
P121
Tn Nominal
LoadTorque
Torque Control
P102
P122
P128
P104
P126
P401
P400
P640
P406
P404
P402
P405
P120 =2
P102
Torque
Control
P122
P121
P104 0
P125 =1
P126
P127
Tn(%)
Start
Speed
0
Enable Disable
t(s)
Maximum Time
P121
Tn Nominal
LoadTorque
Torque Control
P102
P122
P128
P127
P104
P126
P401
P400
P640
P406
P404
P402
P405
P120 =2
P102
Torque
Control
P122
P121
P104 0
P125 =2
P126
P127

Table of Contents

Other manuals for WEG SSW-06

Related product manuals