EasyManua.ls Logo

Yamaha 60F - Page 117

Yamaha 60F
204 pages
Print Icon
To Next Page IconTo Next Page
To Next Page IconTo Next Page
To Previous Page IconTo Previous Page
To Previous Page IconTo Previous Page
Loading...
6-24
E
LOWR
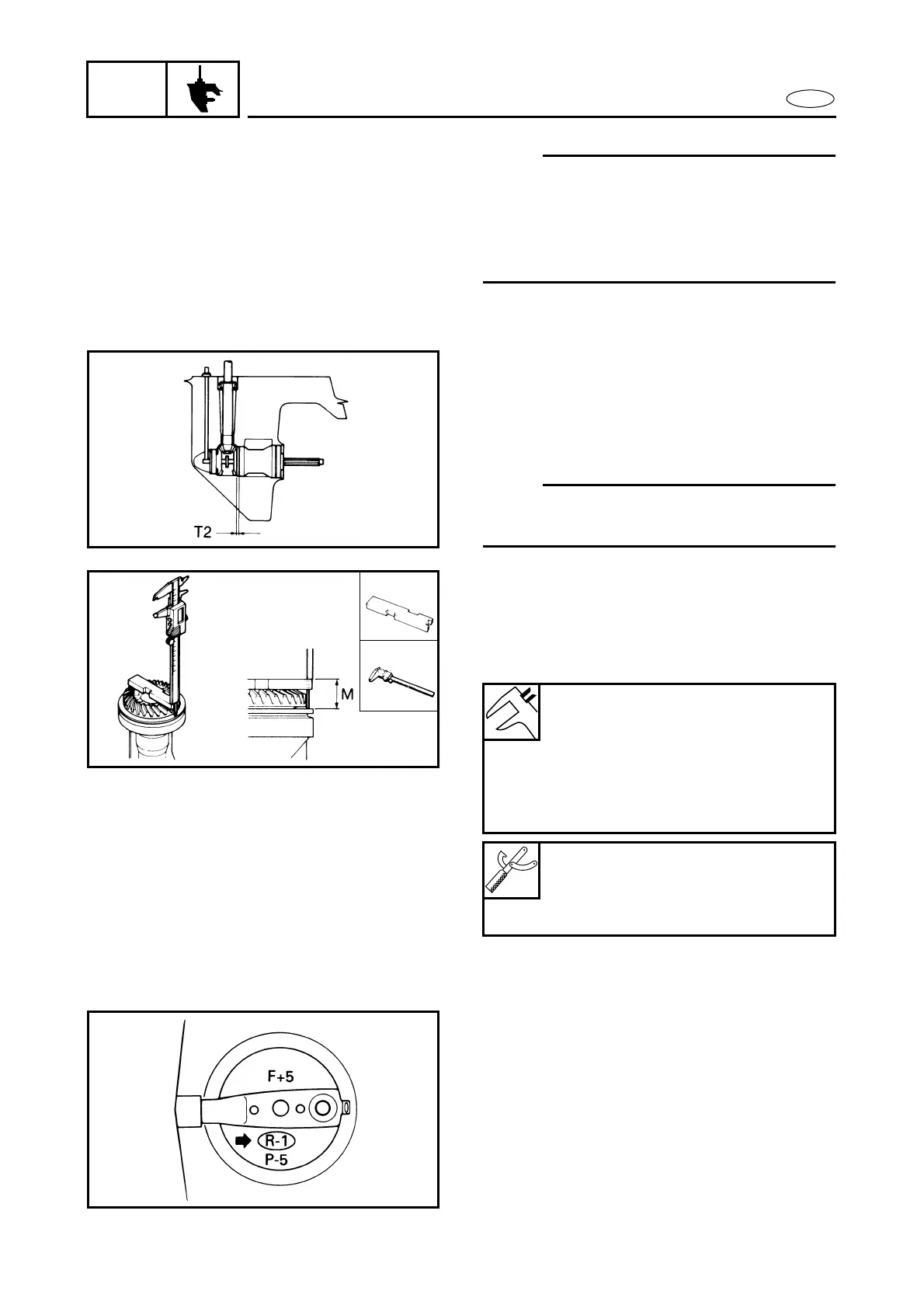
SHIM SELECTION
(EXCEPT FOR USA AND CANADA)
NOTE:
Use a minimum number of shims to
obtain the thickness equal or nearly equal
to the calculation.
Install the shims with the thicker one on
the outer side.
Reverse gear shim
1. Find reverse gear shim thickness (T2)
by selecting shims until the specified
measurement (M) with the special tool
is obtained.
NOTE:
Be sure to remove the O-ring from under
the thrust washer.
2. Using a digital caliper at the specified
measurement (M) established above,
measure the distance between the
washer top and special tool top as
shown.
Shim thickness (T2)=
50 hp:
M – 25.40 mm – R/100 mm
60, 70 hp
M – 28.00 mm – R/100 mm
75 ~ 90 hp:
M – 26.00 mm – R/100 mm
Shimming plate:
90890-06701
Digital caliper:
90890-06704
90890-06704
90890-06701
3. R is the deviation of the lower case
dimension from standard. It is stamped
on the trim tab mounting surface of the
lower case in 0.01 mm units. If the R
mark is missing or unreadable, assume
an R mark of “0” and check the back-
lash when the unit is assembled.

Table of Contents

Other manuals for Yamaha 60F

Related product manuals