EasyManua.ls Logo

Yamaha 60F - Page 188

Yamaha 60F
204 pages
Print Icon
To Next Page IconTo Next Page
To Next Page IconTo Next Page
To Previous Page IconTo Previous Page
To Previous Page IconTo Previous Page
Loading...
8-27
–+
ELEC
E
ELECTRICAL ANALYSIS
75, 80, 90 hp
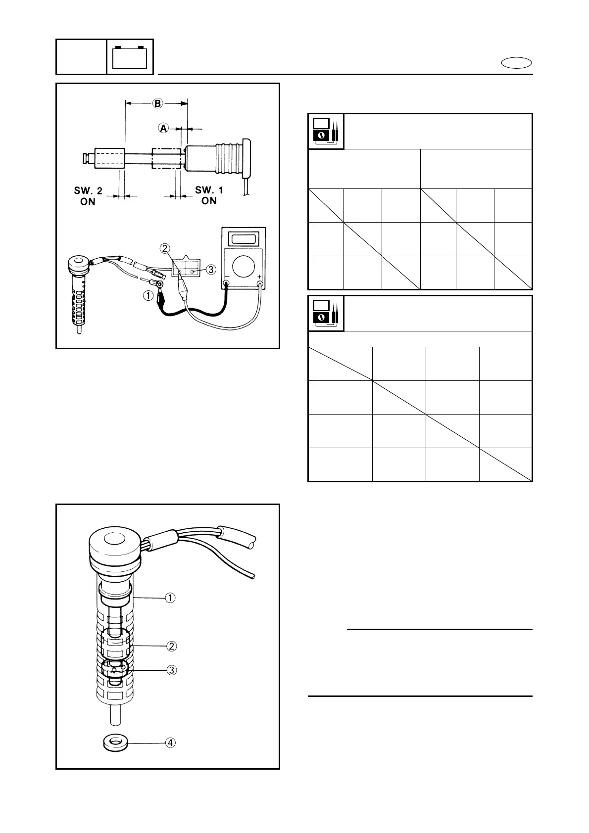
Marking: 6H1-15 Unit:
* “” indicates that the pointer deflects
once and returns to “”.
: Discontinuity
3. Assemble as shown in the diagram.
1 Strainer cover
2 Float (Magnet)
3 Plate
4 Gasket
NOTE:
Place the float with the magnet side
upward.
Assemble the plate which has a hole at
the bottom.
Oil level sensor resistance
Float SW.1 ON
A 5.8 ~ 8.8 mm
(0.23 ~ 0.35 in)
Float SW. 2 ON
B 42.3 ~ 45.3 mm
(1.67 ~ 1.78 in)
1
Black
2
Green
1
Black
3
Green/
Red
1
Black
0
1
Black
*
2
Green
0
3
Green/
Red
640
Oil level sensor resistance
Float SW. 1, SW. 2, both OFF
2 Green 2 Green
3 Green/
Red
1 Black *
2 Green
3 Green/Red *
Tester
Tester
+
-
Tester
Tester
+
-
Tester +
Tester -

Table of Contents

Other manuals for Yamaha 60F

Related product manuals