EasyManua.ls Logo

Buell 2002 S3T - Page 159

Buell 2002 S3T
450 pages
Print Icon
To Next Page IconTo Next Page
To Next Page IconTo Next Page
To Previous Page IconTo Previous Page
To Previous Page IconTo Previous Page
Loading...
2002 Buell S3T: Engine 3-9
HOME
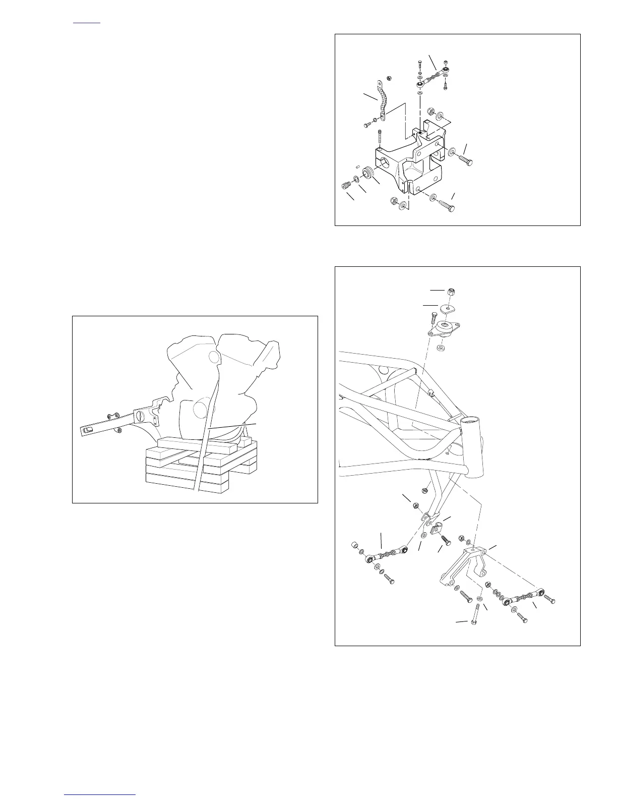
a. Remove rear tie bar using a swivel socket.
b. See Figure 3-4. Detach front tie bar (1) and clutch
cable clamp (3). Remove tie bar bolt (2), clutch
cable clamp (3), washer (4) and locknut (5).
c. Remove washer and nut to detach front upper tie
bar (11) from isolator (8).
18. Detach front isolator (8). Remove front isolator bolt (6),
nut (10), D-washer (9) and washer (7).
19. See Figure 3-3. Remove isolator bolt (7) and lockwasher
(6) on each side.
20. Slowly raise floor hoist until rubber isolators (5) can be
removed. Frame will rise while engine remains secured
to lift by crating strap.
NOTE
Rubber isolators align with a frame mounted metal pin.
21. Raise frame and walk forward over and away from the
engine.
22. If necessary, remove rear swingarm. See 2.19 SWING-
ARM.
23. If necessary, detach swingarm mount block from power-
train by removing bolts (3, 4), washers and locknuts.
Figure 3-2. Supporting the Engine
b0251x3x
Crating
Strap
Figure 3-3. Rear Tie Bar Assembly
Figure 3-4. Front Tie Bar Assembly
1. Ground Strap
2. Rear Isolator
3. Swingarm Mount
Block Bolts
(2, upper)
4. Swingarm Mount
Block Bolts
(2, lower)
5. Rubber Isolator (2)
6. Lockwashers (2)
7. Isolator TORX
Bolts (2)
b0202x3x
2
1
7
5
3
4
6
b0730x3x
1. Front Lower Tie Bar
2. Tie Bar Bolt
3. Clutch Cable Clamp
4. Washer
5. Locknut
6. Front Isolator bolt
7. Washer
8. Front Isolator
9. D-Washer
10. Nut
11. Front Upper Tie Bar
1
6
7
9
10
2
4
5
3
8
11

Table of Contents

Related product manuals