EasyManua.ls Logo

Buell 2002 S3T - Page 88

Buell 2002 S3T
450 pages
Print Icon
To Next Page IconTo Next Page
To Next Page IconTo Next Page
To Previous Page IconTo Previous Page
To Previous Page IconTo Previous Page
Loading...
2-14 2002 Buell S3T: Chassis
HOME
INSTALLATION
11WARNING1WARNING
Only install original equipment (stock) tire valves and
valve caps. A valve or valve and cap combination that is
too long may interfere with (strike) adjacent components,
damage the valve and cause rapid tire deflation. Rapid
tire deflation could cause loss of control which could
result in death or serious injury.
11WARNING1WARNING
Aftermarket valve caps that are heavier than the stock
cap may have clearance at slow speeds; but, at high
speed the valve/cap will be moved outward by centrifugal
force. This outward movement could cause the valve/cap
to strike the adjacent components, damage the valve and
cause rapid tire deflation. Rapid tire deflation could
cause loss of control which could result in death or seri-
ous injury.
1. Damaged or leaking valve stems must be replaced.
Place rubber grommet on valve stem with shoulder in
recess of the valve stem head.
2. Install and tighten nut to 42-44 in-lbs (4.7-5.0 Nm).
3. Thoroughly lubricate rim flanges and both beads of tire
with tire lubricant.
4. See Figure 2-13. Starting at the valve stem, start first
bead into the rim well using a bead breaker machine. If
no machine is available, work bead on as far as possible
by hand. Use a tire tool to pry the remaining bead over
rim flange.
5. Start 180° from valve stem hole and place second bead
on rim. Work bead onto rim with tire tools, working
toward valve in both directions.
11WARNING1WARNING
Do not inflate tire over 40 psi (275 kPa) to seat the beads.
If the beads fail to seat to 40 psi (275 kPa), deflate and
relubricate the bead and rim and reinflate to seat the
beads, but do not exceed 40 psi (275 kPa). Inflating the
tire beyond 40 psi (275 kPa) to seat the beads can cause
the tire rim assembly to burst with force sufficient to
cause death or serious injury.
6. Apply air to stem to seat beads on rim. It may be neces-
sary to use a TIRE BEAD EXPANDER (Part No. HD-
28700) on the tire until beads seal on rim.
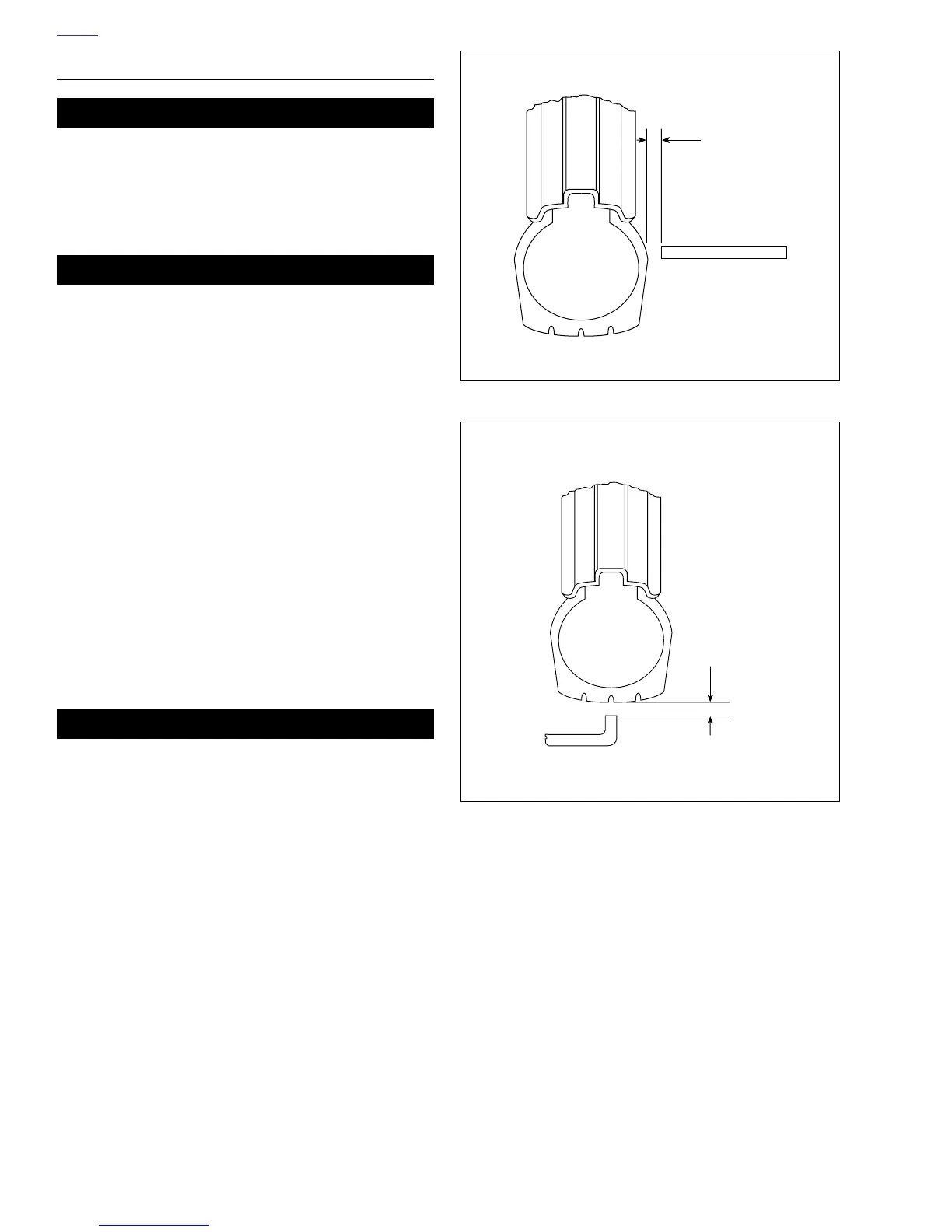
Checking Tire Lateral Runout
1. See Figure 2-14. Tu rn wheel on axle and measure
amount of displacement from a fixed point to tire side-
wall.
2. Tire tread lateral runout should be no more than 0.080
in. (2.03 mm). If runout is more than 0.080 in. (2.03 mm),
remove tire from rim.
3. Check rim bead side runout. See 2.7 CHECKING CAST
RIM RUNOUT. Replace rims not meeting specifications.
4. Install tire and check again for tire tread lateral runout.
Checking Tire Radial Runout
1. See Figure 2-15. Turn wheel on axle and measure tread
radial runout.
2. Tire tread radial runout should not be greater than 0.060
in. (1.52 mm). If runout exceeds specification, remove
tire from rim.
3. Check rim bead runout. See 2.7 CHECKING CAST RIM
RUNOUT. Replace rims not meeting specifications.
4. Install tire and check tire tread radial runout again.
Figure 2-14. Checking Tire Lateral Runout
Figure 2-15. Checking Tire Radial Runout
Tire Lateral
Runout 0.080 in.
(2.03 mm)
maximum
Gauge
b0087x2x
b0088x2x
Tire Radial
Runout 0.060 in.
(1.52 mm)
maximum
Gauge

Table of Contents

Related product manuals