EasyManua.ls Logo

Canon imagePRESS Server A2200 - Page 144

Canon imagePRESS Server A2200
151 pages
Print Icon
To Next Page IconTo Next Page
To Next Page IconTo Next Page
To Previous Page IconTo Previous Page
To Previous Page IconTo Previous Page
Loading...
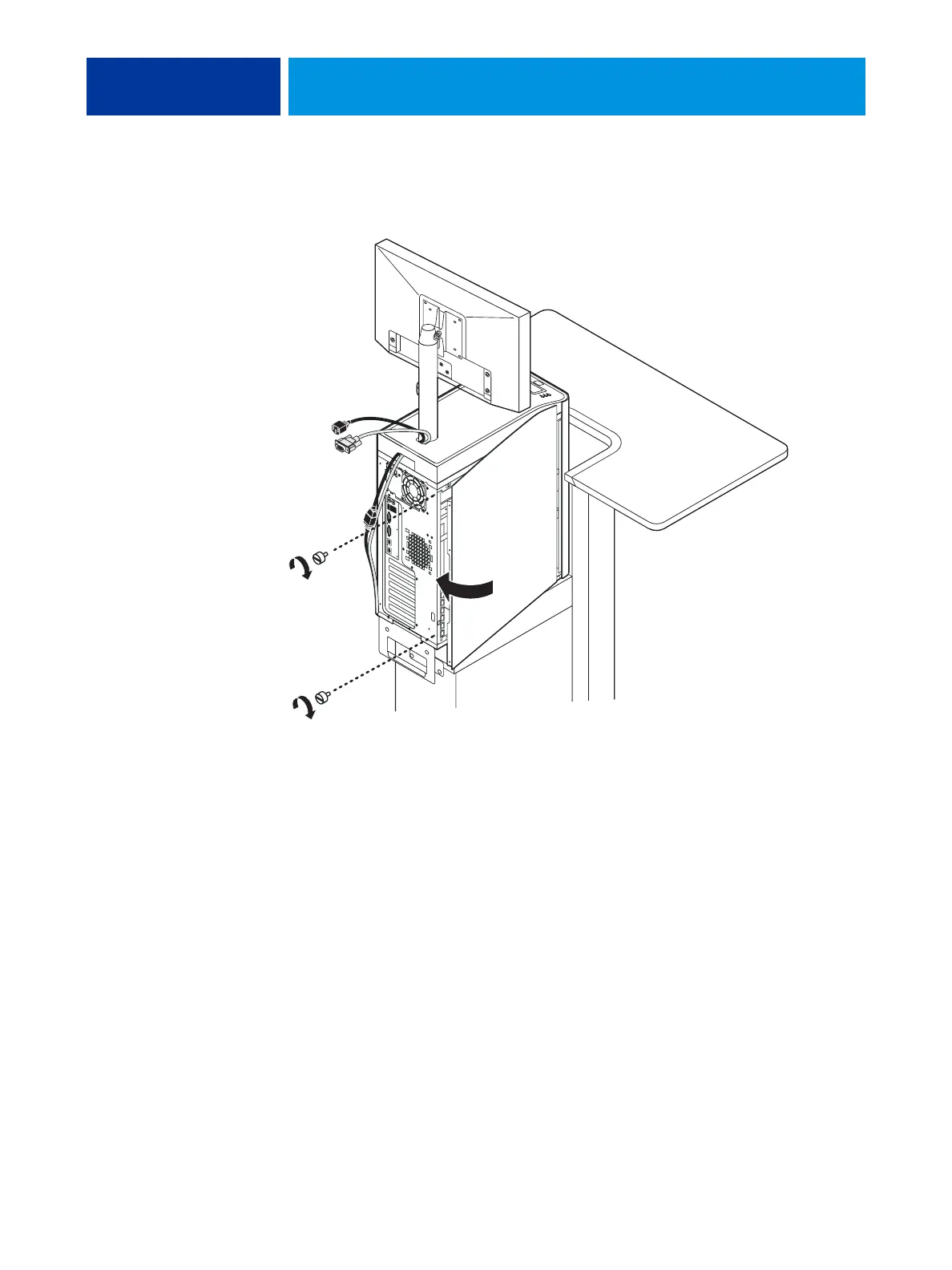
SERVICING THE IMAGEPRESS SERVER WITH FURNITURE 144
5. Replace the left side panel on the imagePRESS Server with the screws that you
removed earlier.

Table of Contents