EasyManua.ls Logo

Dobot M1 - Communication Interface; Connecting Cables

Dobot M1
140 pages
Print Icon
To Next Page IconTo Next Page
To Next Page IconTo Next Page
To Previous Page IconTo Previous Page
To Previous Page IconTo Previous Page
Loading...
Dobot M1 User Guide 4 Electrical Specifications
Issue V1.3.4 (2019-05-23) User Guide Copyright © Yuejiang Technology Co., Ltd
36
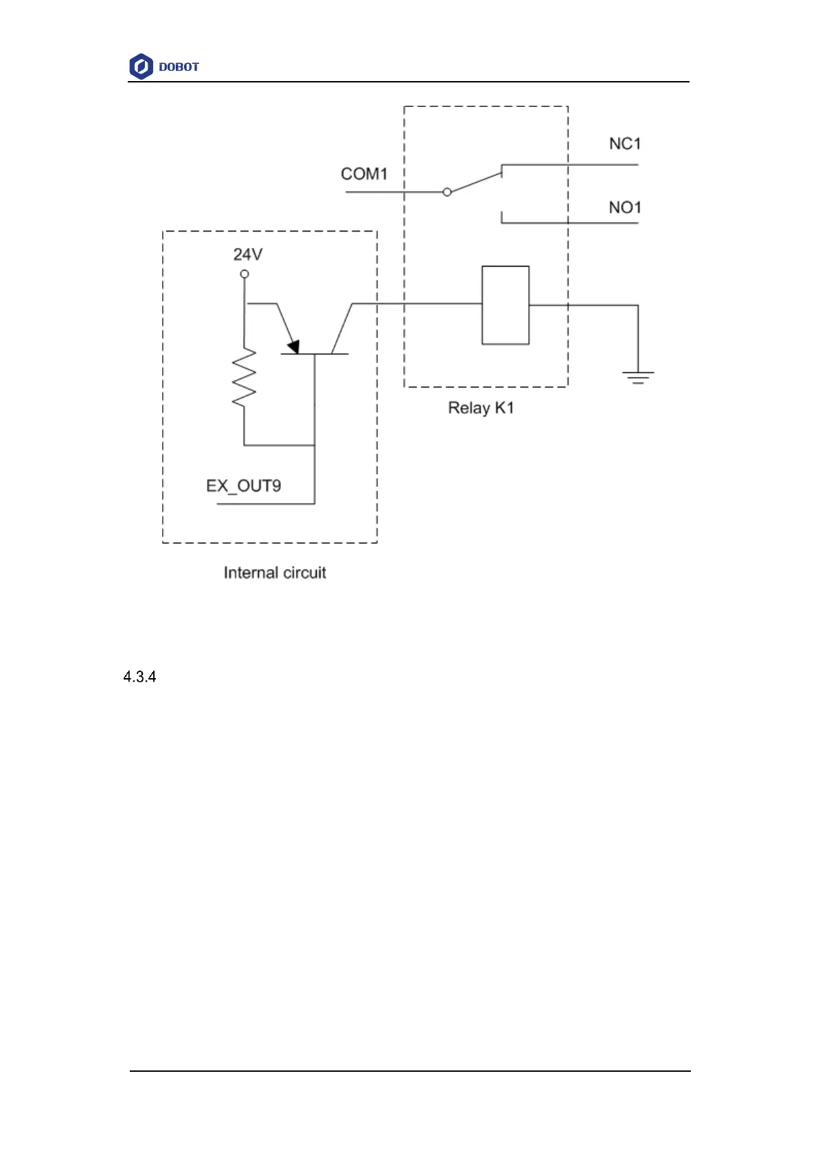
Figure 4.5 Circuit diagram
Communication Interface
4.3.4.1 Ethernet Interface
Dobot M1 can connect to a PC over the standard RJ45 Socket interface, using TCP/IP protocol.
4.3.4.2 RS-232 Interface
Dobot M1 can connect to a PC over standard the RS-232 interface.

Table of Contents

Other manuals for Dobot M1

Related product manuals