EasyManua.ls Logo

eMachines E644G - LCD Failure

eMachines E644G
216 pages
Print Icon
To Next Page IconTo Next Page
To Next Page IconTo Next Page
To Previous Page IconTo Previous Page
To Previous Page IconTo Previous Page
Loading...
Troubleshooting 4-7
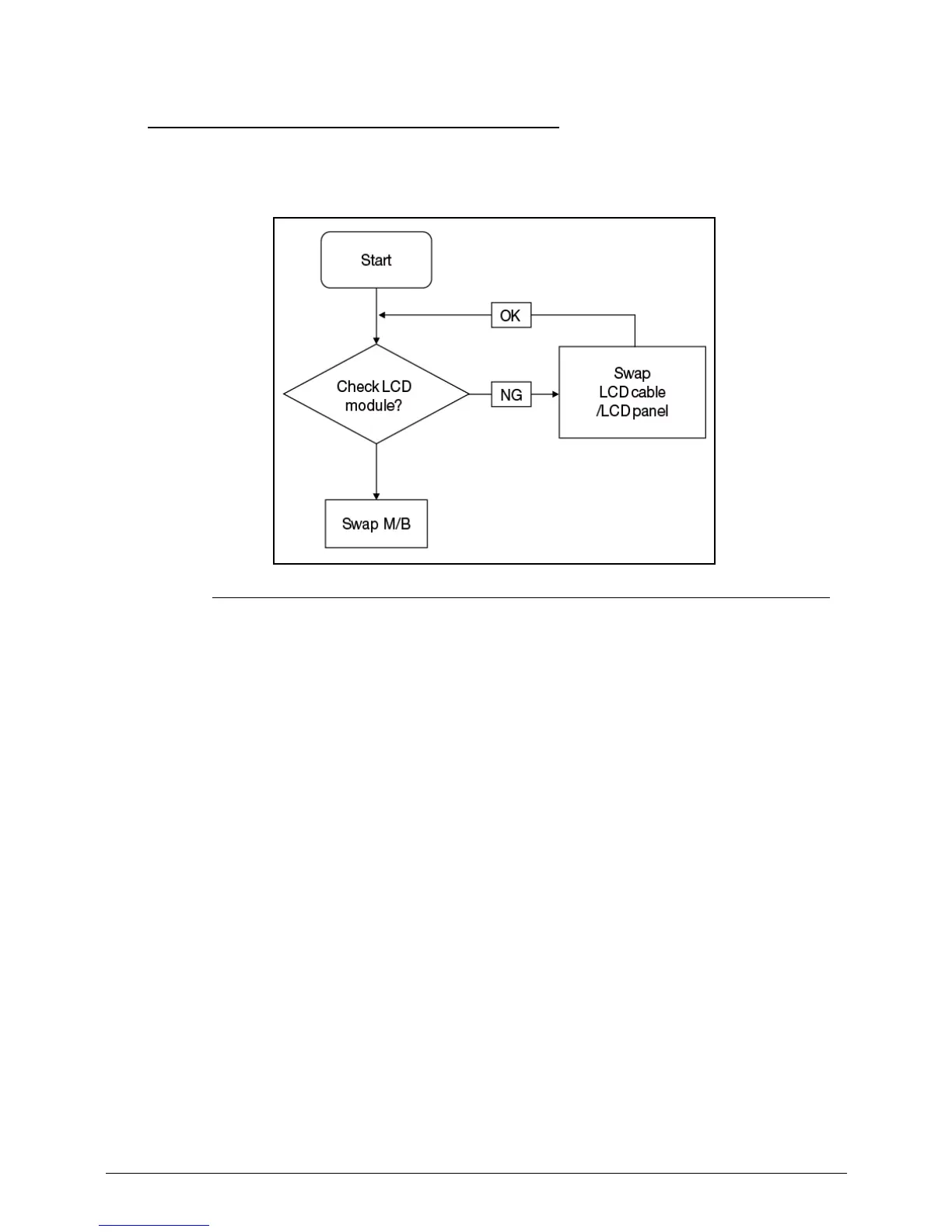
LCD Failure 0
If the LCD fails, perform the following:
Figure 4-3. LCD Failure

Table of Contents

Related product manuals