EasyManua.ls Logo

eMachines E644G - Touchpad Failure

eMachines E644G
216 pages
Print Icon
To Next Page IconTo Next Page
To Next Page IconTo Next Page
To Previous Page IconTo Previous Page
To Previous Page IconTo Previous Page
Loading...
Troubleshooting 4-9
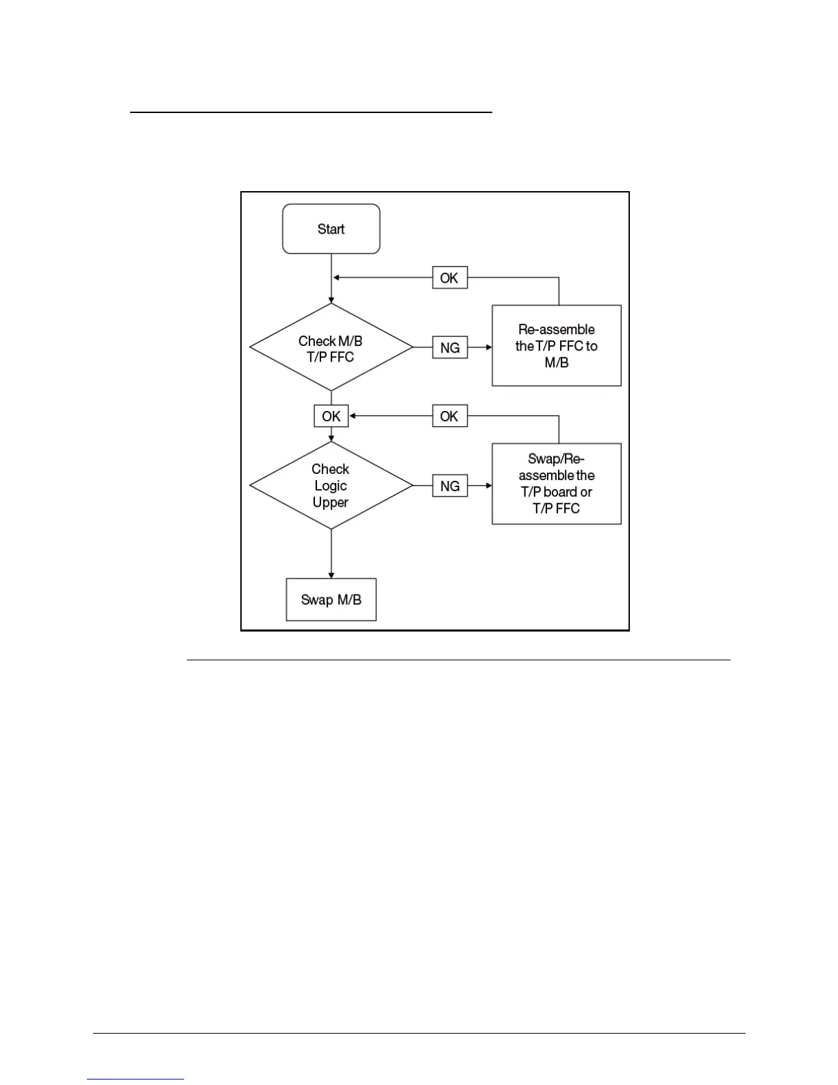
Touchpad Failure 0
If the Touchpad fails, perform the following:
Figure 4-5. Touchpad Failure

Table of Contents

Related product manuals