EasyManua.ls Logo

eMachines E644G - Bluetooth Failure

eMachines E644G
216 pages
Print Icon
To Next Page IconTo Next Page
To Next Page IconTo Next Page
To Previous Page IconTo Previous Page
To Previous Page IconTo Previous Page
Loading...
Troubleshooting 4-15
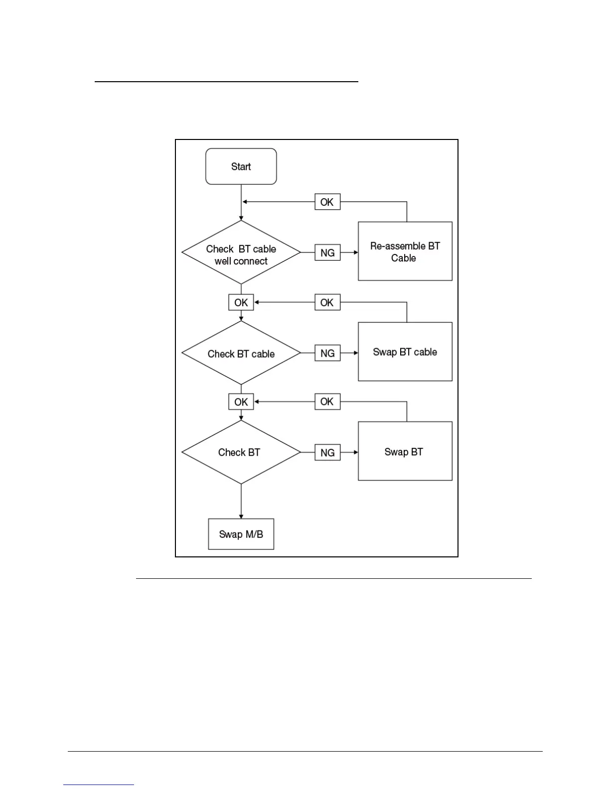
Bluetooth Failure 0
If the wireless fails, perform the following:
Figure 4-10. Bluetooth Failure

Table of Contents

Related product manuals