EasyManua.ls Logo

Fujitsu Remote Management - Page 28

Fujitsu Remote Management
426 pages
Print Icon
To Next Page IconTo Next Page
To Next Page IconTo Next Page
To Previous Page IconTo Previous Page
To Previous Page IconTo Previous Page
Loading...
28 iRMC S2/S3
IPMI - technical background
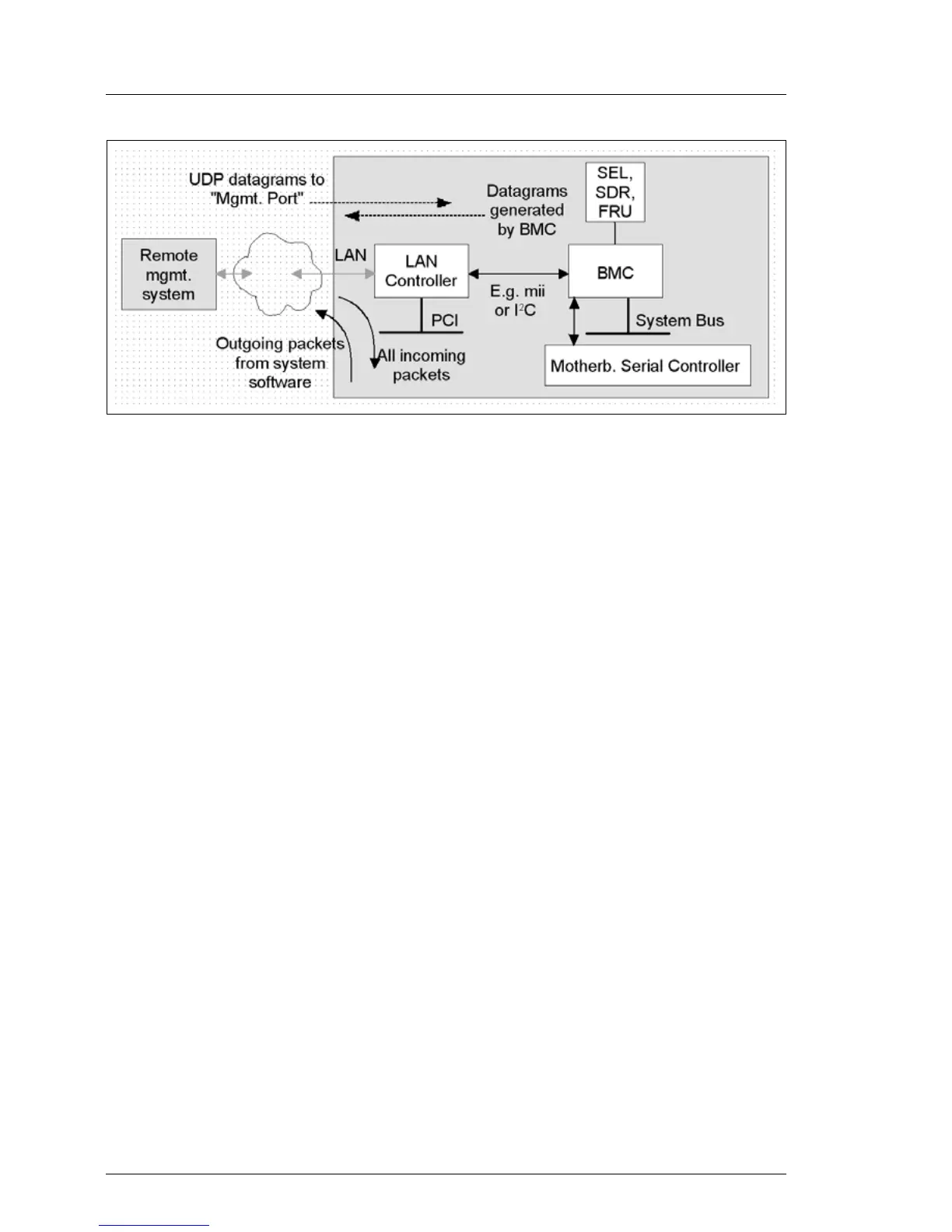
Figure 5: BMC and SOL
The SOL character data is then exchanged between the BMC of the managed
system and the remote workstation as SOL messages. The SOL messages are
encapsulated in RMCP+ data packets and transferred in UDP datagrams over
an Ethernet LAN connection using IPv4 (Internet Protocol Version 4). The
RMCP+ protocol is based on the RMCP protocol, but includes extensions for
encryption, authentication, etc.
Serial over LAN permits “headless” management by console redirection by both
the BIOS and the operating system of the managed server. High-cost
concentrator solutions are not required.
Channel concept under IPMI
‘Channels’ provide the mechanisms with which IPMI messages are routed to
the BMC via various connection carriers. Up to nine channels can be supported.
The system interface and the primary IPMB are fixed. The other seven channels
are available for the implementation.
Channels can be either ‘session based’ or ‘sessionless’. The ‘session’ concept
has two meanings: It is either a concept for user authentication (see the section
"User identifications" on page 29) or a concept for routing multiple IPMI
message streams via a single channel.
Examples of ‘session based’ channels are LAN channels or serial / modem
channels. Examples of ‘sessionless’ channels are the system interface and the
IPMB.

Table of Contents

Related product manuals