EasyManua.ls Logo

Hioki RM3542 - Supplied Connector Assembly

Hioki RM3542
218 pages
Print Icon
To Next Page IconTo Next Page
To Next Page IconTo Next Page
To Previous Page IconTo Previous Page
To Previous Page IconTo Previous Page
Loading...
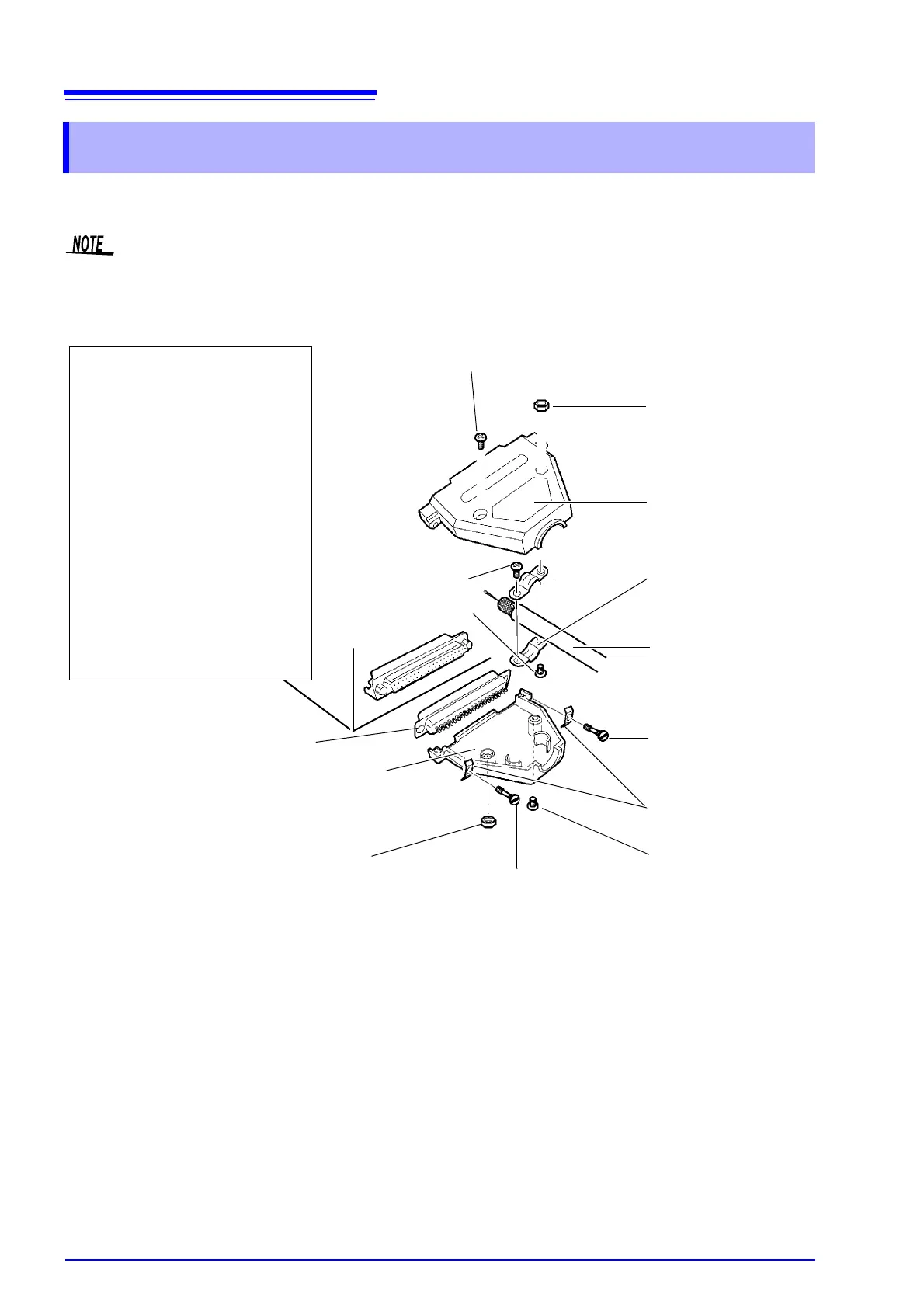
8.6 Supplied Connector Assembly
96
The EXT I/O connector and shell are supplied with the instrument. Assemble as shown below.
Use shielded cables to connect a PLC to the EXT I/O connector. Using non-shielded conductors may result
in system errors from electrical noise.
Connect the shield to the ISO_COM pin of the EXT I/O connector.
8.6 Supplied Connector Assembly
E Nut #4-40UNC
Required tools:
Screwdriver
Shielded cable
Soldering iron
Accessories
A Cover.....................................2
B Screws (+/-) #4-40UNC
(16.9 mm overall length) .......2
C Screws (+/-) #4-40UNC
(12.6 mm overall length) .......2
D Screws () #4-40UNC
(15.0 mm overall length) .......2
E Nuts #4-40UNC.....................2
F Cable Clamps........................2
G Saddle Washers
(shell protection)....................2
H Connector ..............................1
B Screw (+/-) #4-40UNC (16.9 mm overall length)
A Cover
(Identical halves)
Shielded Cable
(recommended)
D Screw () #4-40UNC
(15.0 mm overall length)
B Screw (+/) #4-40UNC
(16.9 mm
overall length)
E Nut #4-40UNC
D Screw () #4-40UNC
(15.0 mm overall length)
A Cover
(Identical halves)
F Cable Clamps
G Saddle Washers
(shell protection)
Assembly Sequence
1. Solder the (shielded) cable wires to the supplied EXT I/O connector (H) pins.
2. Affix the cable clamps (F) on the cable with screws (C).
3. Position the cable clamps (F) to fit properly inside the cover (A).
4. Insert screws (D) through the saddle washers (G).
5. In one half of cover (A), place connector (H), clamps (F), saddle washers (G) and screws (D).
6. Place the other half of cover (A) on top.
7. Affix the halves of the cover (A) together with screws (B) and nuts (E).
Be careful not to overtighten the screws, which could damage the covers.
H Connector
C Screw (+/) #4-40UNC
(12.6 mm overall length)

Table of Contents

Other manuals for Hioki RM3542

Related product manuals