EasyManua.ls Logo

Hisun HS200UTV - Ignition System

Hisun HS200UTV
312 pages
Print Icon
To Next Page IconTo Next Page
To Next Page IconTo Next Page
To Previous Page IconTo Previous Page
To Previous Page IconTo Previous Page
Loading...
-224-
CHASSIS
- 224-
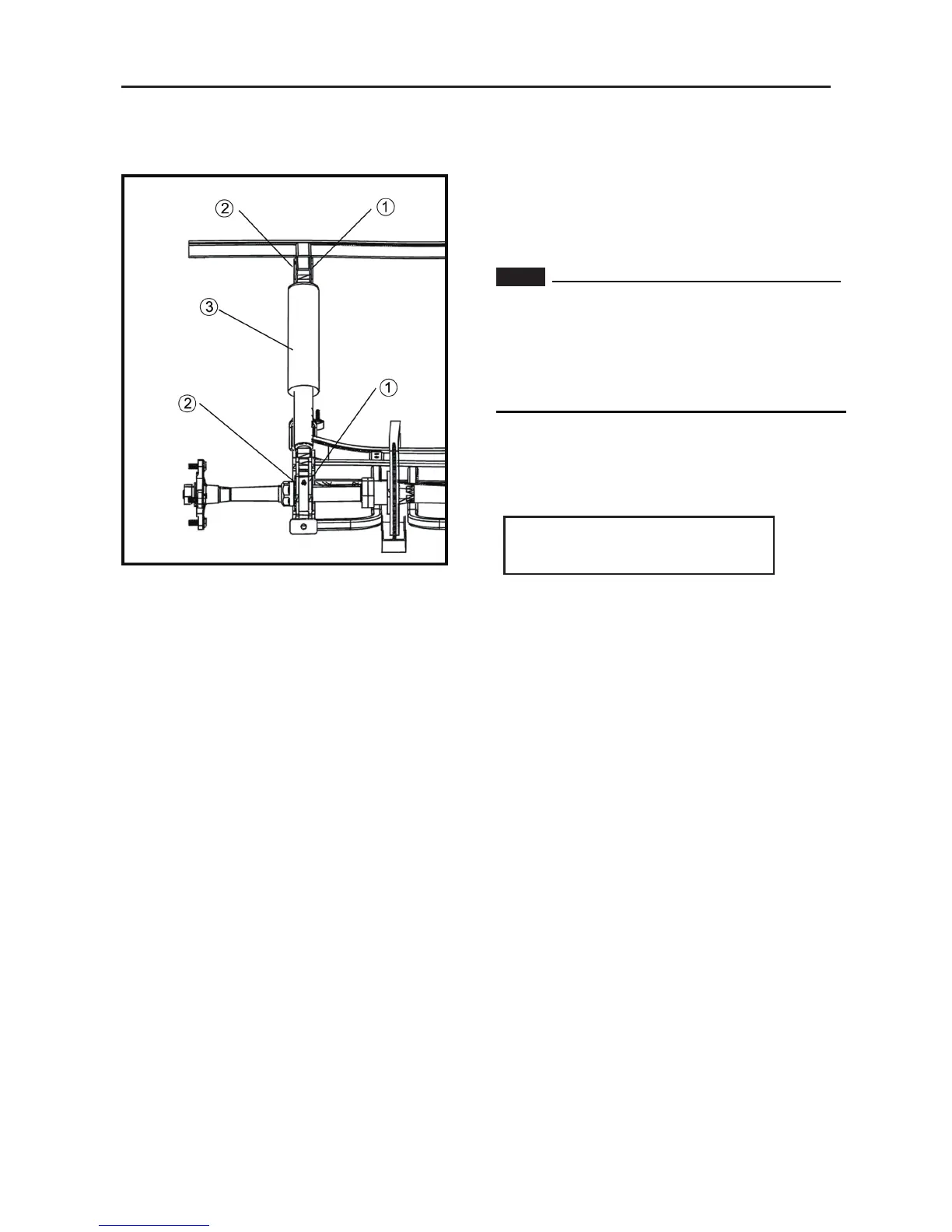
INSTALLING THE REAR SWING ARM ASSY.
1. Install:
• Rear swing arm
• Rear shock absorber parts
a.
All components installed on the rear axle.
NOTE:
Lubricate the bolts with
lithium-soap-based grease.
Be sure to position the bolts so that the
bolt head faces outward.
Temporarily tighten the nuts .
b. Install the rear shock absorber .
Nut
45 Nm (4.5 m · kg, 32 ft · lb)
CHASSIS
- 225-
COOLING SYSTEM
Water Radiator
No. Part Name Qty Remarks
Removing the radiator
1
Water tank 1
2
Rubber cushion,water tank 2
3
Hexagon flange self-locked bolt M6×20 2
4
Water inlet assy 1
5
Hexagon flange bolt M6×16 2
6
Water pipe E 1
7
Screw clip Φ20×32 12
8
Front left water pipe 1
9
Front right water pipe 1
10
Rear left water pipe 1
11
Rear right water pipe 1

Table of Contents

Related product manuals