EasyManua.ls Logo

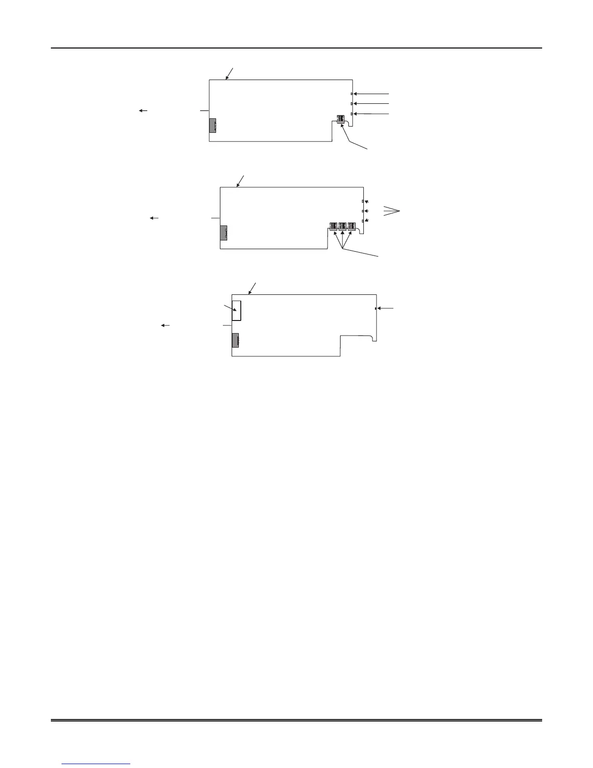
Honeywell MX8000 - Figure 3-7: Line Card Position and Components

Honeywell MX8000
192 pages
Print Icon
To Next Page IconTo Next Page
To Next Page IconTo Next Page
To Previous Page IconTo Previous Page
To Previous Page IconTo Previous Page
Loading...
MX8000 Installation and Operation Guide
3–6
Model MX8000-LC1
Phone Line
Connector
(Power Limited
and Supervised)
Line Card
Display LEDs
Top of Line Card
Insert From
Front of MX8000
In This Direction
Rear of Card Front of Card
Red = Fault
Green = Active
Yellow = Listen-in
Model MX8000-LC3
Phone Line
Connectors
(Power Limited
and Supervised)
Line Card
Display LEDs
Top of Line Card
Insert From
Front of MX8000
In This Direction
Rear of Card Front of Card
Line 1
Line 3
Line 2
Line 1
Line 3
Line 2
Model MX8000-LRR
Line Card
Display LED
Top of Line Card
Insert From
Front of MX8000
In This Direction
Transceiver
Connector P1
(Power Limited
and Supervised)
Rear of Card Front of Card
Figure 37: Line Card Position and Components
5. Carefully slide the card into its guides (both top and bottom) until it fits into its connector at the back of
the receiver. Gently push the card as far into the connector as you can. The card is now in place.
Notes:
If installing an MX8000-LRR Radio Line Card and you will be using the VPN feature with ADEMCO
8000 automation protocol, the card must be installed in slot 12.
If installing an MX8000-LRR Radio Line Card and you will be using the VPN feature with 685 or
CAPS automation protocol WITHOUT using Virtual Receiver/Line numbers, the card must be
installed in slot 3 (see page 1–6).
If installing an MX8000-LRR Radio Line Card and you will be using the VPN feature with 685 or
CAPS automation protocol WITH Virtual Receiver/Line numbers, assign the card as line 8.
When outputting to an automation computer and using the MX8000-LRR card, only the 685, CAPS, or
ADEMCO 8000 automation protocol may be used.
6. Connect telephone line(s) or the line to the transceiver if installing a MX8000-LRR Radio Line Card.
(See Section 3.9 for telephone line installation.)
Notes:
Use the tie wrap (provided with each line card) on the tie wrap holder to add strain relief to the
telephone lines. See Figure 3–3.
When using a MX8000–LRR line card in UL installations, the transceiver connected to the MX8000–
LRR P1 connector must be installed in the same room as the receiver.
When using a MX8000–LRR line card in FM installations, the 7810 Radio Transceiver connection to
the MX8000–LRR must be within 20 ft. (6m) of the MX8000 and in the same room as the MX8000.
7. Restart the receiver in accordance with the procedures provided in Section 4.6.7.
8. Close the MX8000's front panel and tighten the front plate retaining screws to hold the front plate in
place. If you are simply replacing a line card with another card of the same type and are using the same
format settings, your installation is now complete. If not continue to the next step.
9. Enter programming mode to select the appropriate handshake configuration. (Go to Section 5.5 for
programming procedure.)

Table of Contents

Related product manuals