EasyManua.ls Logo

Honeywell MX8000 - Program Menu; 4.6.10 Diagnostics Menu; Table 4-8: Phantom Signals Formats List; Figure 4-17: Program Menu Items

Honeywell MX8000
192 pages
Print Icon
To Next Page IconTo Next Page
To Next Page IconTo Next Page
To Previous Page IconTo Previous Page
To Previous Page IconTo Previous Page
Loading...
MX8000 Installation and Operation Guide
4–16
9. Enter the desired time (from 01-99 seconds).
10. Press
ENTER
MENU
.
11. Press
to exit menu.
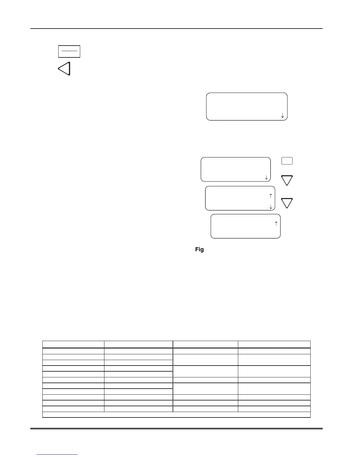
4.6.9 Program Menu
If program is selected from the main menu the
system will enter into “Program Mode”. (See Section
4.5 for information on modes of operation.) In
program mode you can program all the general
options, line card options, and user list. (See
Appendix A, Table A–1 for Programming Quick
Chart.)
<Program Menu>
1=General Options
2 Line Device Menu
3 User List
¯
Figure 417: Program Menu Items
4.6.10 Diagnostics Menu
The diagnostics menu items can be used while
testing and troubleshooting the system.
<Diagnostics>
4=Format-Raw Hex
5 LC Debug Mode
6 LC Statistics
<Diagnostics>
7=Port Status
< Exit Menu
<Diagnostics>
1 Phantom Menu
2 Message Que
3 Event Log
¯
¯
8
Figure 418: Diagnostics Menu Items
4.6.10.1 Phantom Menu
The phantom menu contains list of various communication format phantom signals (see Table 4–8) that can
be used to test the receiver or automation software configurations. For example, you set a line cards
parameters for a particular communications format and would now like to verify that this new configuration
will communicate with other communication formats, you can send phantom signals in the formats you wish
to test that line card with. To use the phantom menu to test a format:
1. Select Phantom Menu in the Diagnostics Menu.
2. Scroll through the list of formats and select the format to be tested.
3. Exit the Phantom Menu. Messages will be sent to the printer in the format selected.
Table 48: Phantom Signals Formats List
Choice Format Choice Format
01 DCS DCS 12 SIA D1 ADEMCO High Speed (SIA D1)
02 CID Contact ID®
03 ITI ITI format
13 ADM42 Cksum ADEMCO 4/2 format w/
checksum
04 BFSK BFSK
05 3/1 3/1 format
14 SIA D1 Cksum ADEMCO High Speed w/
checksum (SIA D1 w/checksum)
06 3/2 3/1 format w/checksum 15 ACRON TOUCH TONE Acron TouchTone
07 4/1 4/1 format
08 4/2 4/2 format
16 ADM41 Cksum ADEMCO 4/1 format w/
checksum
09 FSK0 FSK0 17 FBII 4+3+1 FBII 4+3+1
10 FSK1 FSK1 18 Modem IIE Modem IIe format
11 FSK2 FSK2 19 SIA 2000 (see note) SIA 2000 format
Note: This format is not currently supported by the MX8000.

Table of Contents

Related product manuals