EasyManua.ls Logo

Honeywell MX8000 - System History; System Info; Set Time & Date; Figure 4-8: System History Display Sequence

Honeywell MX8000
192 pages
Print Icon
To Next Page IconTo Next Page
To Next Page IconTo Next Page
To Previous Page IconTo Previous Page
To Previous Page IconTo Previous Page
Loading...
Section 4 – Operation
4–9
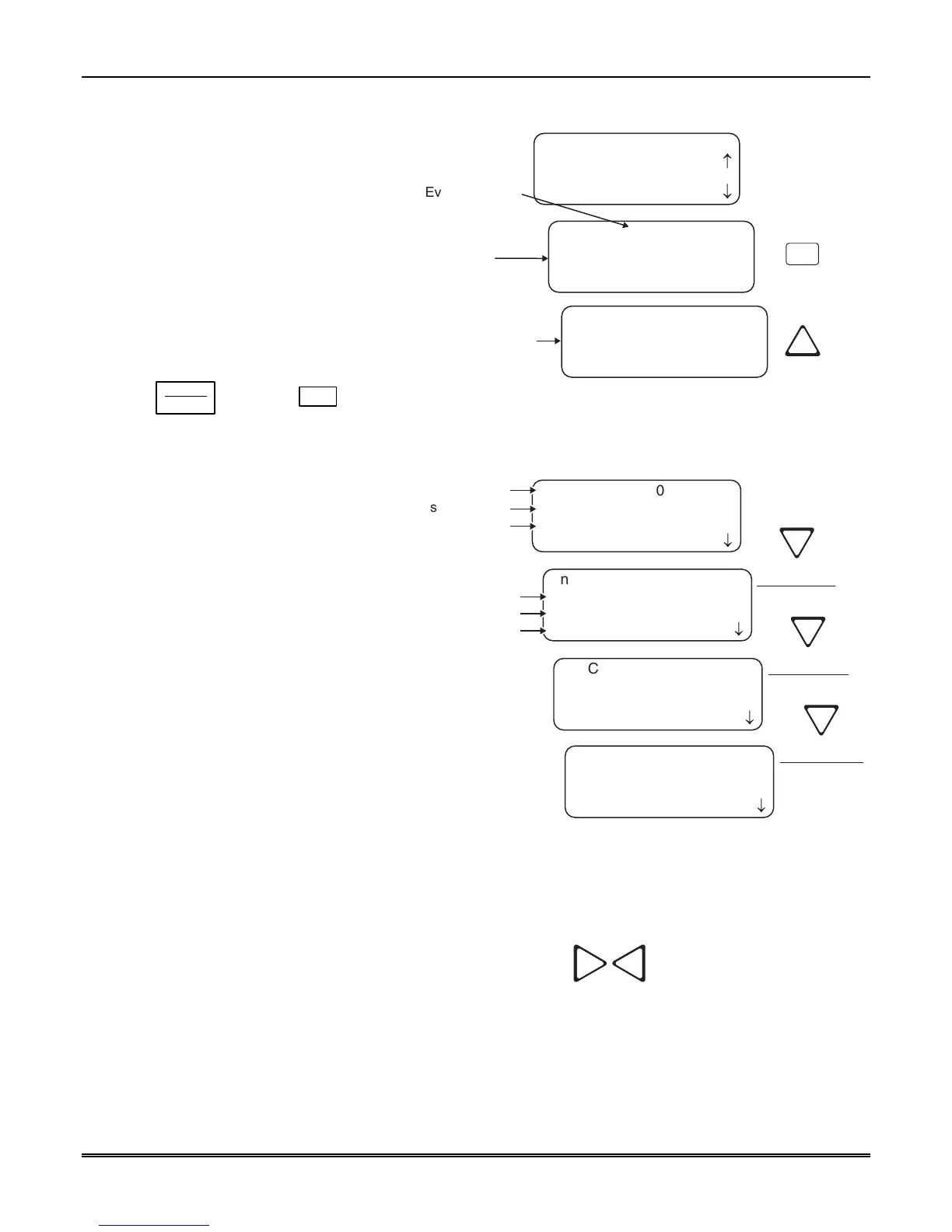
4.6.4 System History
System history displays any events
that are stored in the history buffer.
System events are any events related
to the receiver operation such as line
card faults, low backup battery, AC
power loss, log in, log out, system
program change, communication
failure to a printer or automation
system, etc.
Note: Up arrow moves back to the
previous event that occurred.
To display a specific event enter the
event number (see Figure 4–8) then
press the
ENTER
MENU
. Press the
to
go to most recent call.
<Installer Menu>
2=System History
3 System Info
4 Set Time & Date
SysEvent 22 of 22
User Log In
#11
02/03/01 09:56AM
SysEvent 21 of 22
User Log Out
#02
02/03/01 09:56AM
¯
Event Number
View after
2 pressed
Up arrow
displays previous
event
2
Figure 48: System History Display Sequence
4.6.5 System Info
System Info is a non-editable screen
that displays the model number, the
software revision, software date code,
and receiver ID number. If a down
arrow is pressed, the display will
sequentially show the line card
firmware information, which includes
the firmware part number, the
software date, and letter revision. The
first line card firmware information
display is for a MX8000–LC1 card, the
second display is for a MX8000–LC3
card, and the third display is for a
MX8000–LRR card.
Model:
Version:
Date:
Rcvr ID:
¯
LineCard Firmware:
124047
Date: 10/18/97
Rev: G
¯
Version Number
Model Number
Date Code
LineCard Firmware:
124062
Date: 12/10/01
Rev: A
¯
LineCard Firmware:
124061
Date: 4/02/02
Rev: B
¯
MX8000
XX.XX
MMM D 2002
01
Letter Rev.
Date
Firmware Part Number
MX8000-LC1
MX8000-LRR
MX8000-LC3
Figure 49: System Information Display
4.6.6 Set Time & Date
If Set Time & Date, is selected the operator can change the time and date currently displayed on the
receiver. (See Figure 4–10 for setting time and date procedure.)
Note: If you make an error while setting the time and/or date, press
and re-enter the correct value.

Table of Contents

Related product manuals