EasyManua.ls Logo

Huawei UPS5000-E-30 kVA - Product Introduction; Product Structure

Huawei UPS5000-E-30 kVA
195 pages
Print Icon
To Next Page IconTo Next Page
To Next Page IconTo Next Page
To Previous Page IconTo Previous Page
To Previous Page IconTo Previous Page
Loading...
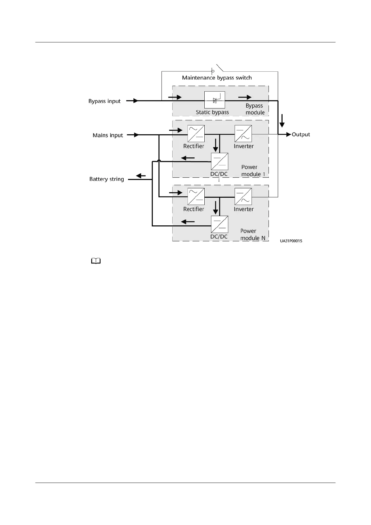
Figure 2-7 UPS conceptual diagram in ECO mode
NO TE
Manual startup is required to ensure that the inverter is in standby state and the power
ow has reached the inverter.
2.3 Product Introduction
2.3.1 Product Structure
UPS5000-E-(30 kVA–180 kVA)
User Manual (Integrated UPS) 2 Product Overview
Issue 02 (2022-12-30) Copyright © Huawei Digital Power Technologies Co., Ltd. 30

Table of Contents

Related product manuals