EasyManua.ls Logo

Kollmorgen S700 Series

Kollmorgen S700 Series
166 pages
To Next Page IconTo Next Page
To Next Page IconTo Next Page
To Previous Page IconTo Previous Page
To Previous Page IconTo Previous Page
Loading...
S748-772 Instructions Manual | 7 Technical description
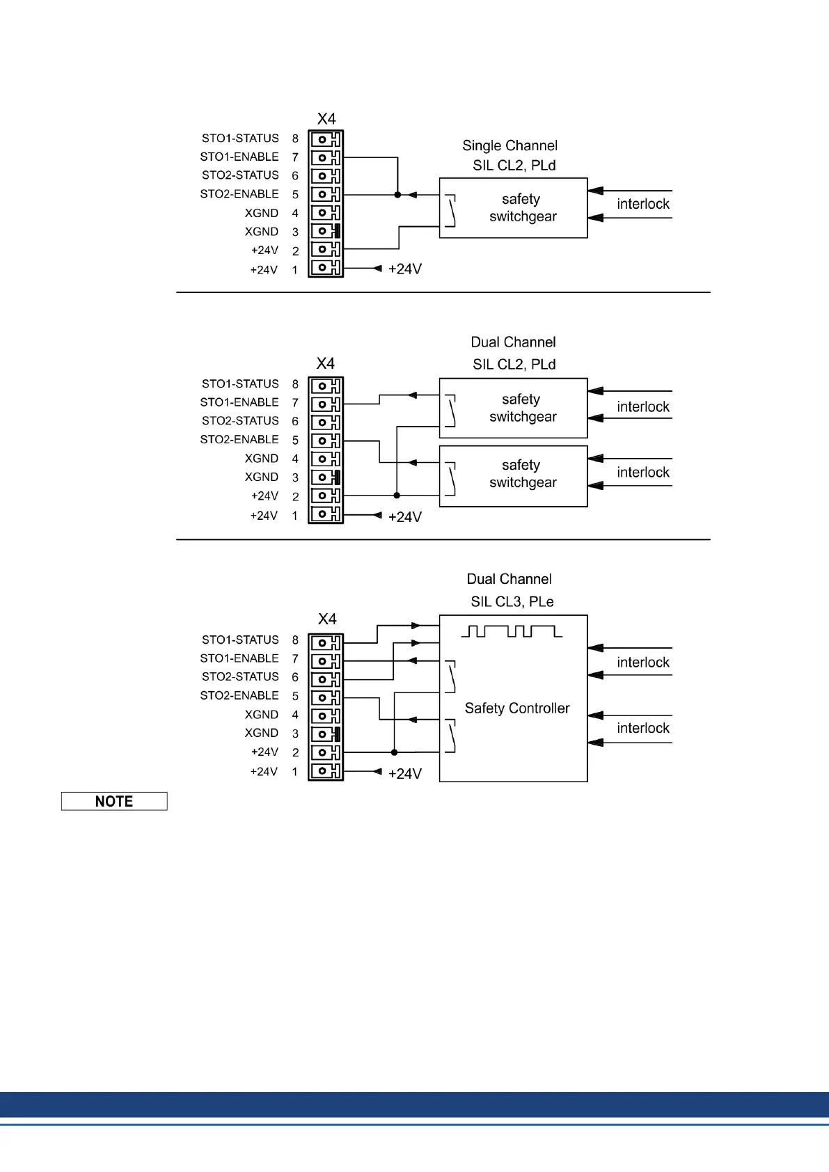
7.9.8 Pinout
To achieve PLe / SIL CL3, the safe switching of the pulse inhibitor must be tested peri-
odically by analyzing the status signal from a safety control.
44 Kollmorgen | kdn.kollmorgen.com | July 2019

Table of Contents

Other manuals for Kollmorgen S700 Series

Related product manuals