EasyManua.ls Logo

MacDon FFT FD75 - Attaching Header to Challenger, Gleaner, or Massey Ferguson Combine

MacDon FFT FD75
308 pages
Print Icon
To Next Page IconTo Next Page
To Next Page IconTo Next Page
To Previous Page IconTo Previous Page
To Previous Page IconTo Previous Page
Loading...
214325 30 Revision A
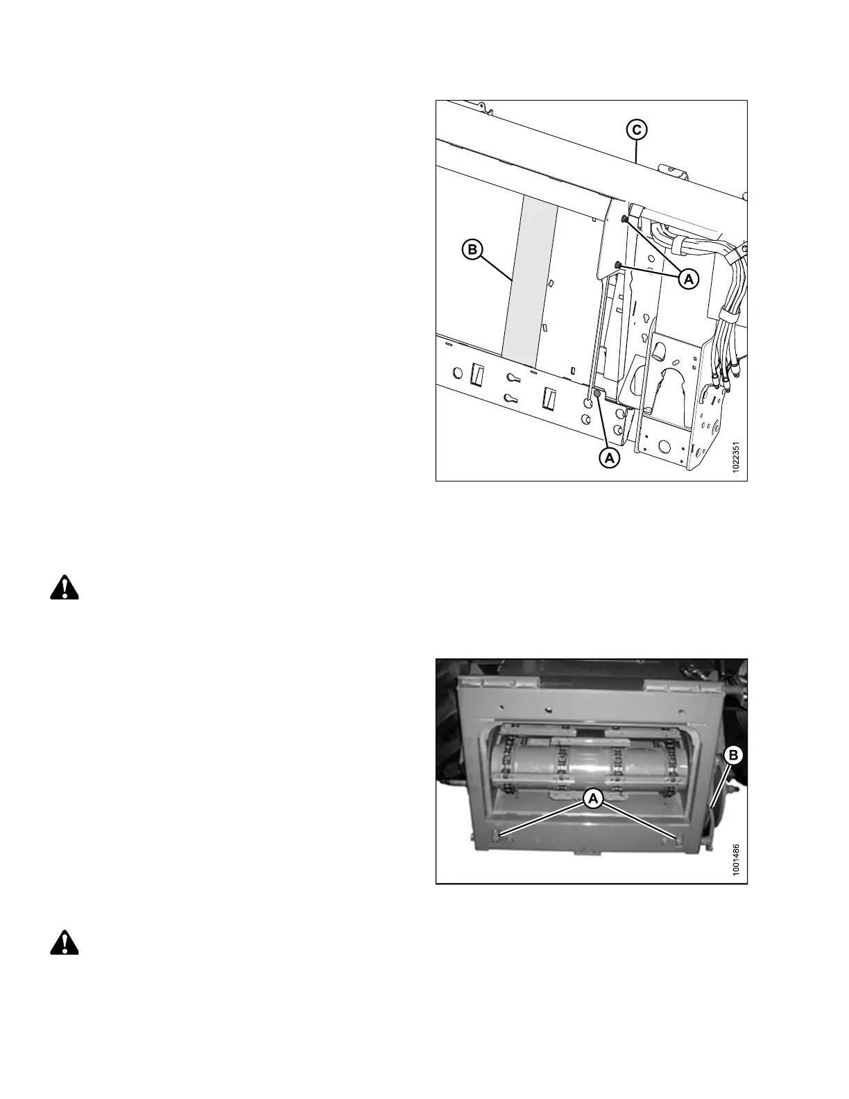
Figure 3.31: Filler Plate on Right Side of
Transition Frame
1. For AGCO Class 7 and Class 8 combines, remove
three carriage bolts and nuts (A) securing filler plate (B)
to transition frame (C), and remove filler plate. Discard
bolts, nuts, and filler plates.
2. Repeat on the opposite side.
Attaching Header to Challenger, Gleaner, or Massey Ferguson Combine
DANGER
To avoid bodily injury or death from unexpected start-up of machine, always stop engine and remove key
from ignition before leaving operators seat for any reason.
Figure 3.32: AGCO Group Feeder House
1. Use lock handle (B) to retract lugs (A) at base of
feeder house.
CAUTION
Never start or move the machine until you are sure all bystanders have cleared the area.
ASSEMBLING HEADER AND ADAPTER

Table of Contents

Related product manuals