EasyManua.ls Logo

Mitsubishi MELSEC-Q QD77MS - Page 374

Mitsubishi MELSEC-Q QD77MS
976 pages
Print Icon
To Next Page IconTo Next Page
To Next Page IconTo Next Page
To Previous Page IconTo Previous Page
To Previous Page IconTo Previous Page
Loading...
6 - 59
Chapter 6 Sequence Program Used for Positioning Control
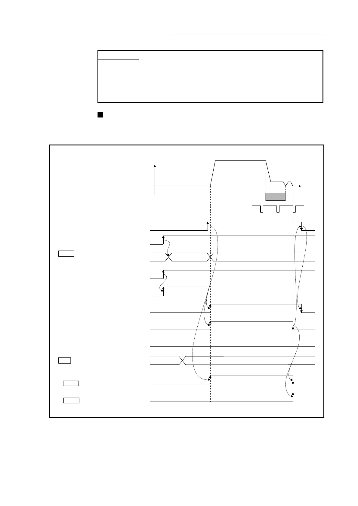
POINT
The BUSY signal turns ON even when position control of movement amount 0 is
executed. However, since the ON time is short, the ON status may not be
detected in the sequence program.
(The ON status of the start complete signal, positioning complete signal and M
code ON signal can be detected in the sequence program.)
Starting time chart
The time chart for starting each control is shown below.
(1) Time chart for starting "machine OPR"
[QD77MS4 operation example]
QD77 READY signal
Start complete signal
BUSY signal
Error detection signal
OFF
OFF
ON
ON
ON
ON
OFF
OFF
OFF
9001
ON
ON
OFF
OFF
Near-point dog
V
t
OPR request flag
( Md. 31 Status: b3)
Cd. 3 Positioning start No.
Positioning start signal
[Y10]
PLC READY signal
[Y0]
[X0]
[X10]
[XC]
[X8]
OPR complete flag
( Md. 31 Status: b4)
Zero signal
OFF
ON
All axis servo ON
[Y1]
OFF
ON
Standby
Axis operation statusMd. 26
Servo OFF
(Note): Refer to Section 3.3 for input/output signal of QD77MS16.
Fig. 6.4 Time chart for starting "machine OPR"

Table of Contents

Related product manuals