EasyManua.ls Logo

NF FRA5087 - Fig. 4-12 Line Marker Display

Default Icon
194 pages
Print Icon
To Next Page IconTo Next Page
To Next Page IconTo Next Page
To Previous Page IconTo Previous Page
To Previous Page IconTo Previous Page
Loading...
4.6 Display setting
FRA5087
4-18
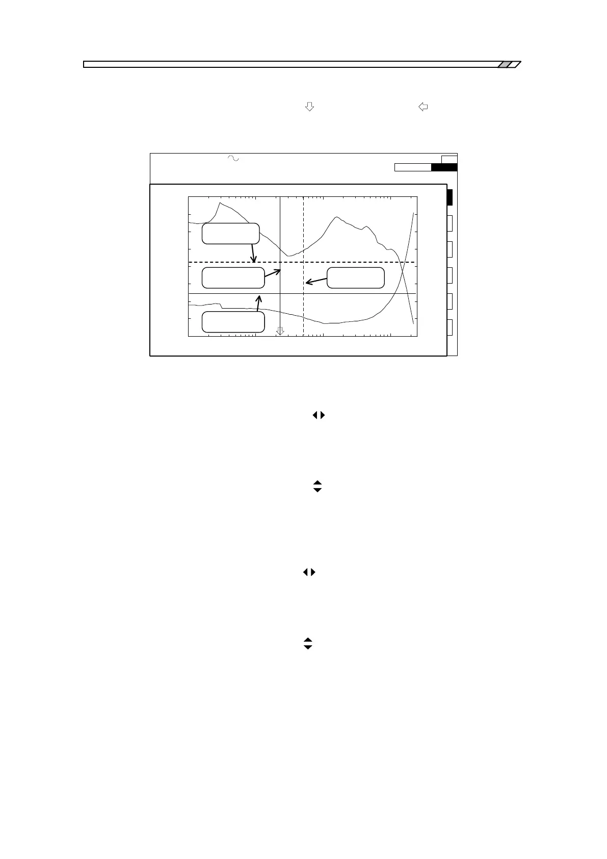
Active line markers accompany a mark (x axis marker) or (y axis marker) at
intersections of x axis or y axis, respectively, in the display. (See the figure below.)
OSC: 2.2000000000MHz 7.00 Vpeak DC 1.00 V INTEG: 100cycle HMNC: 1
SWP: 100steps/sweep CPRSN:OFF SLSWP:OFF ANAL:CH2/CH1 EQL:OFF
SWEEP STOP
1
2
3
4
5
6
PHASE[deg]
FREQUENCY(Hz)
GAIN[dB]
1k 10k 100k 1M
-20m
-10m
0
m
10m
20m
30m
40m
50m
60m
1k 10k 100k 1M
-0.08
-0.07
-0.06
-0.05
-0.04
-0.03
-0.02
-0.01
0
*f: 22.6862028kHz *R: -0.028 dB *θ : -0.07 deg
Y axis normal
marker
X axis normal
marker
Y axis delta
marker
X axis delta
marker
Fig. 4-12 Line marker display
The line marker operation depends upon the status of which marker is active.
The x axis normal marker is active (i.e.,
and SET lamps are off):
Turn the knob and the x axis delta marker also moves horizontally to right and left in
accordance with the knob action.
The data display portion of the screen displays the read out data of the intersection of
the x axis normal marker with the measurement data curve.
The y axis normal marker is active (i.e.,
and SET lamps are off):
Turn the knob and the y axis delta marker also moves vertically up and down in
accordance with the knob action.
The data display portion of the screen displays the read out data of the intersection of
the y axis normal marker with the measurement data curve. The frequency is not
displayed.
The x axis delta marker is active (i.e.,
and SET lamps are on.):
Turn the knob and only the x axis delta marker moves horizontally to right and left.
The data display portion of the screen displays the difference between “the intersection
of x axis delta marker with the data curve” and “the intersection of x axis normal
marker with the data curve”.
The y axis delta marker is active (i.e.,
and SET lamps are on.):
Turn the knob and only the y axis delta marker moves vertically up and down.
The data display portion of the screen displays the difference between “the intersection
of y axis delta marker with the y axis” and “the intersection of y axis normal marker
with the y axis”.

Table of Contents

Related product manuals