EasyManua.ls Logo

NF WF1946B - External am Input (EXT am IN); Synchronous Operation Input and Output (Φ-SYNC IN, OUT); External am Input (EXT am

NF WF1946B
204 pages
Print Icon
To Next Page IconTo Next Page
To Next Page IconTo Next Page
To Previous Page IconTo Previous Page
To Previous Page IconTo Previous Page
Loading...
3.2 Input and output connections
WF1946B
3-12
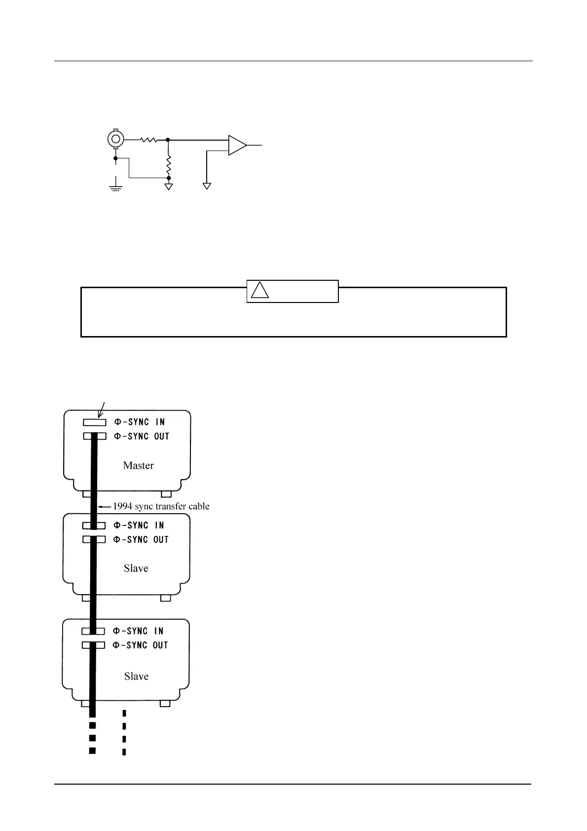
External AM input (EXT AM IN)
EXT AM IN
25 k
+
-
25 k
±42Vpeak
Input voltage : –3 to ±1 V (–100% output at -3 V, 0% output at -1 V, 100% output at +1 V)
Input impedance : 50
Modulation frequency : Up to 10 MHz
Ground : Connected to signal ground (floating from chassis)
Do not apply a signal exceeding the above voltage. The unit can be damaged.
Synchronous operation input and output (φ-SYNC IN, OUT)
(Options, 1991 and 1994)
Do not connect. Note: Effective during continuous (Normal) oscillation mode.
Timing error: Maximum 35 ns per unit. Thus,phase error of 0.1 degree
at approx. 8 kHz and 1 degree at approx. 80 kHz.
Description: The clock is sent from Master to Slave (secondary) to
Slave (tertiary). The delay per unit is approximately 17
nanoseconds. The clock period is approximately 25 ns.
The phase synchronizing pulse can be generated by any
of the master or slave units and sent toward the terminal.
Delay per unit is approximately 8 ns. Due to the phase
difference from this delay time, the error between
adjacent units is approximately 25 ns (clock period) + 8
ns (phase sync pulse delay) = 33 ns.
The WF1945B, WF1946B, WF1945A, WF1946A,
WF1965, WF1966, WF1945 (1945), WF1946 (1946),
and WF1956 (1956) equipped with the 1991 can be
connected.
11
! CAUTION
Maximum number of connected units: 6
(primary)
(secondary)
(tertiary)

Table of Contents

Related product manuals