EasyManua.ls Logo

Omron CPM2C - Page 149

Omron CPM2C
325 pages
Print Icon
To Next Page IconTo Next Page
To Next Page IconTo Next Page
To Previous Page IconTo Previous Page
To Previous Page IconTo Previous Page
Loading...
126
Wiring and Connections Section 3-4
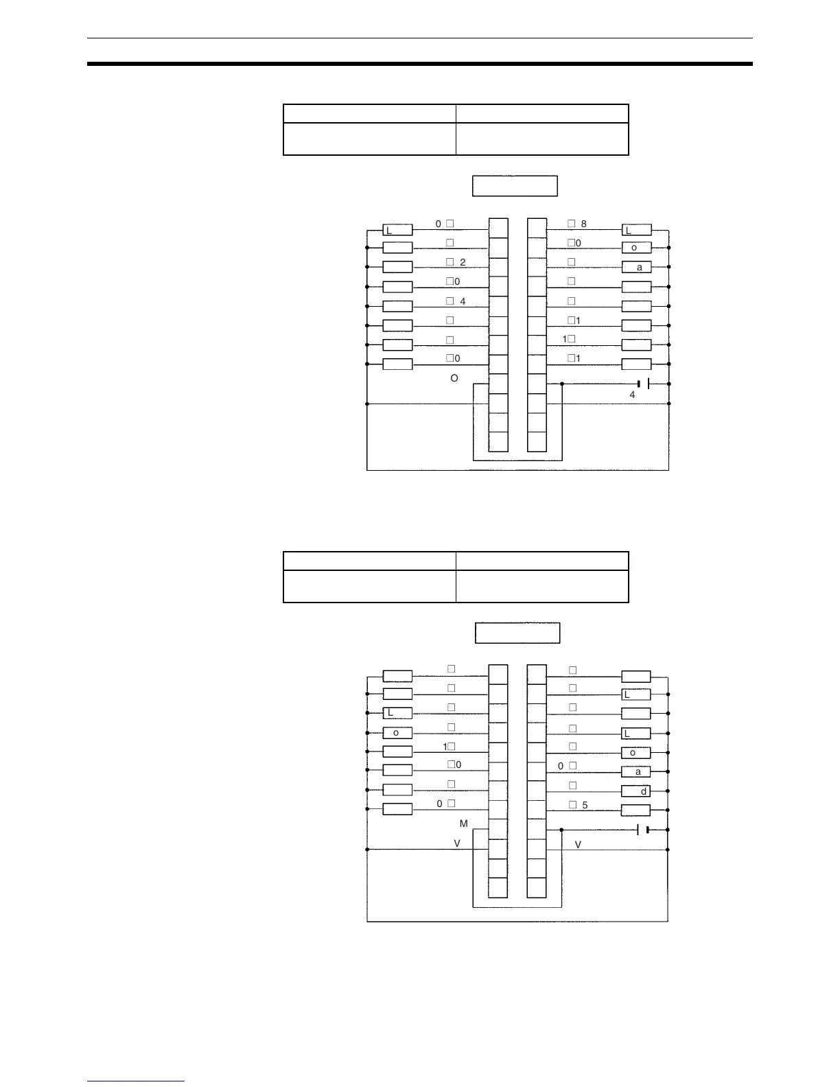
Expansion I/O Unit with 16 Sinking Output Points: CPM2C-16ETC
Note Wire COM terminals (A9 and B9) and 24-V terminals (A10 and B10) even
though they are connected internally.
Expansion I/O Unit with 16 Sourcing Output Points: CPM2C-16ET1C
Note Wire COM terminals (A9 and B9) and 0-V terminals (A10 and B10) even
though they are connected internally.
Output capacity Max. common capacity
00 to 07: 300 mA (24 VDC)
08 to 15: 100 mA (24 VDC)
3.2 A/common
01
(
03
01
(
02
01
(
01
01
(
00
COM
01
(
06
01
(
07
01
(
04
01
(
05
Load
24 VDC
24V
Load
Load
Load
Load
Load
Load
Load
Outputs: IR word n
01
(
11
01
(
10
01
(
09
01
(
08
COM
01
(
14
01
(
15
01
(
12
01
(
13
24V
Load
Load
Load
Load
Load
Load
Load
Load
1
2
3
4
5
6
7
B
8
9
10
11
12
1
2
3
4
5
6
7
A
8
9
10
11
12
Output capacity Max. common capacity
00 to 07: 300 mA (24 VDC)
08 to 15: 100 mA (24 VDC)
3.2 A/common
01
(
03
01
(
02
01
(
01
01
(
00
COM
01
(
06
01
(
07
01
(
04
01
(
05
Load
24 VDC
0V
Load
Load
Load
Load
Load
Load
Load
Outputs: IR word n
01
(
11
01
(
10
01
(
09
01
(
08
COM
01
(
14
01
(
15
01
(
12
01
(
13
0V
Load
Load
Load
Load
Load
Load
Load
Load
1
2
3
4
5
6
7
B
8
9
10
11
12
1
2
3
4
5
6
7
A
8
9
10
11
12

Table of Contents

Related product manuals