EasyManua.ls Logo

Omron CPM2C - Three-Word Monitor

Omron CPM2C
325 pages
Print Icon
To Next Page IconTo Next Page
To Next Page IconTo Next Page
To Previous Page IconTo Previous Page
To Previous Page IconTo Previous Page
Loading...
175
Programming Console Operations Section 4-2
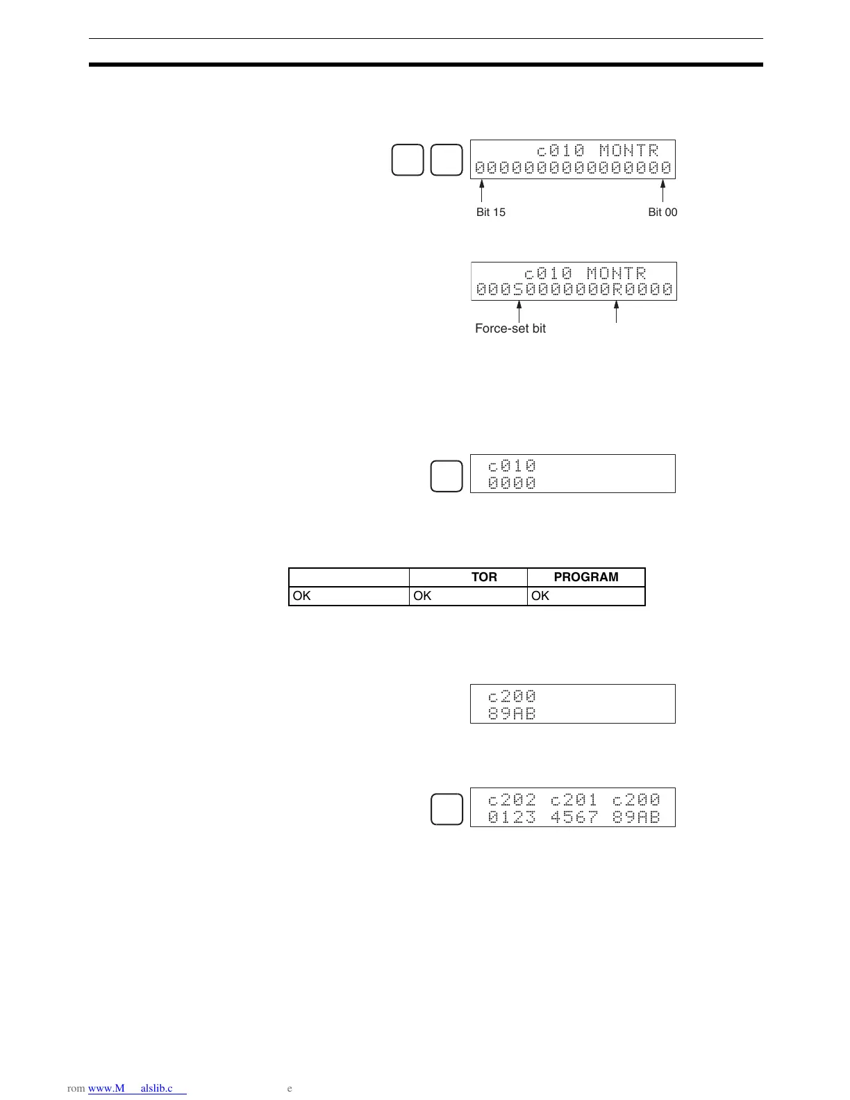
2. Press the SHIFT and then the MONTR Key to begin binary monitoring. The
ON/OFF status of the selected word’s 16 bits will be shown along the bot-
tom of the display. A 1 indicates a bit is on, and a 0 indicates it is off.
The status of force-set bits is indicated by “S,” and the status of a force-re-
set bits is indicated by “R,” as shown below.
Note a) The status of displayed bits can be changed at this point. Refer to
4-2-23 Binary Data Modification for details.
b) The Up or Down Arrow Key can be pressed to display the status
of the previous or next word’s bits.
3. Press the CLR Key to end binary monitoring and return to the normal mon-
itoring display.
4-2-17 Three-Word Monitor
This operation is used to monitor the status of three consecutive words. It is
possible in any mode.
1,2,3... 1. Monitor the status of the first of the three words according to the procedure
described in
4-2-14 Bit, Digit, Word Monitor.
If 2 or more words are being monitored, the desired first word should be
leftmost on the display.
(Word monitor)
2. Press the EXT Key to begin 3-word monitoring. The status of the selected
word and the next two words will be displayed, as shown below. In this
case, DM 0000 was selected.
The Up and Down Arrow Keys can be used to shift one address up or
down.
The status of the displayed words can be changed at this point. Refer to
4-
2-20 Three-Word Data Modification
.
The display can be changed to display ASCII text, which is useful when
three consecutive words containing an ASCII message are displayed. Re-
fer to
4-2-28 Hex-ASCII Display Change.
3. Press the CLR Key to end 3-word monitoring and return to the normal
monitoring display. The rightmost word on the 3-word monitor display will
be monitored.
SHIFT
MONTR
c010 MONTR
0000000000000000
Bit 15 Bit 00
Force-set bit
000S0000000R0000
Force-reset bit
c010 MONTR
CLR
?

RUN MONITOR PROGRAM
OK OK OK
? 
&')*
EXT
? ?  ? 
 ! "#$% &')*

Table of Contents

Related product manuals