EasyManua.ls Logo

OTE VS 2001 - Base Band Card; Fig. 2.5: VS 2001 Architecture Overview

Default Icon
172 pages
Print Icon
To Next Page IconTo Next Page
To Next Page IconTo Next Page
To Previous Page IconTo Previous Page
To Previous Page IconTo Previous Page
Loading...
VS 2001
Technical Handbook
Accessories
P/N: 779-0373/02
Revision 02
Marconi Proprietary information
Page 25
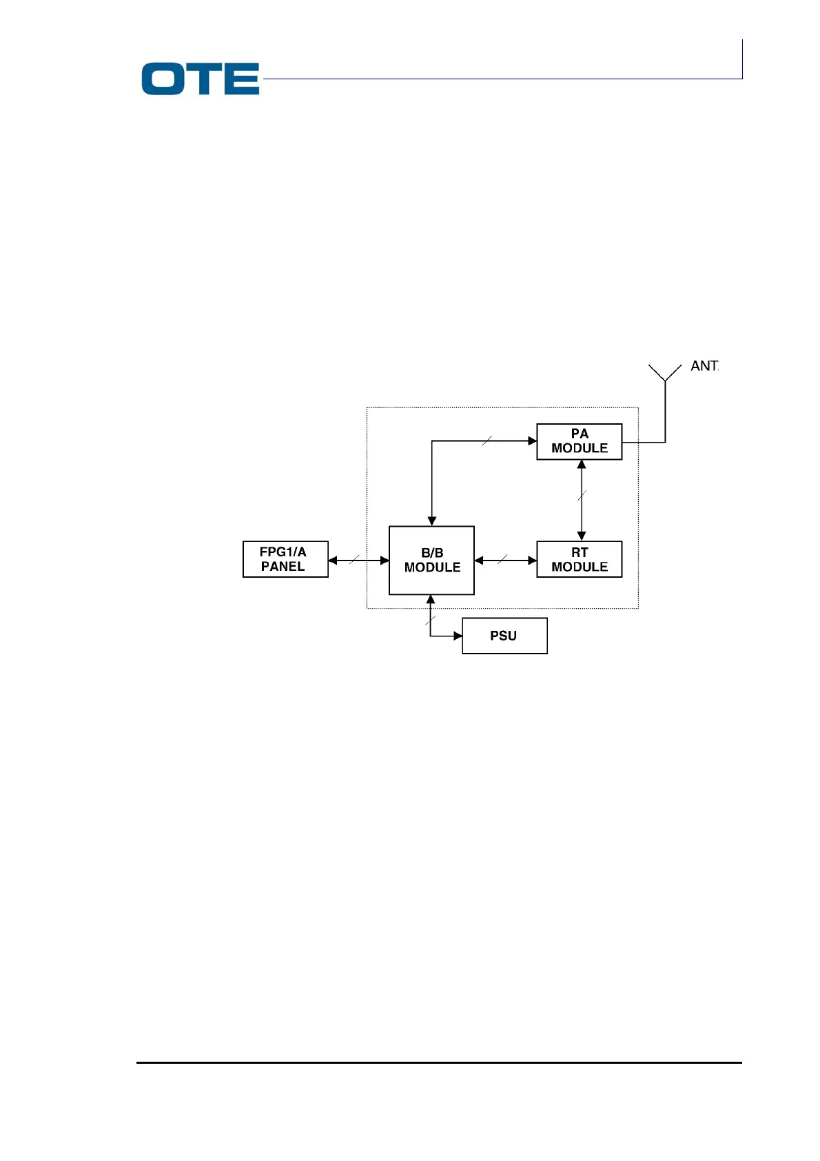
The block diagram of the VS 2001 Radio Unit module is shown in Fig. 2.5. The
Base Band card processes the base band signal in both transmission and
reception phases. The R/T card translates the signal from audio frequency to radio
frequency (transmission phase) and viceversa (reception phase); it also pre-
amplifies the signal. The P.A. card amplifies the transmitted signal to the required
power level.
The functional descriptions of the Base Band card, R/T card and P.A. card are
respectively reported in par. 2.3.1; 2.3.2 and 2.3.3.
Fig. 2.5: VS 2001 architecture overview
2.3.1 Base Band card
Basically the Base Band card processes the signal in both transmission and
reception phases, thus it hosts the processing units such as DSP and
microprocessor.
The functional block diagram of the Base Band card is shown in Fig. 2.6.
Radio Unit
Module

Table of Contents

Related product manuals